Запчасти John Deere 90E 43 - Fuel Injection System 0413 Fuel Injection System 4045TT009 4045TT009

Схема запчастей John Deere 90E - 43 - Fuel Injection System 0413 Fuel Injection System 4045TT009 4045TT009
FIT
1:1
100%

Артикул

Название

Примечание

Количество

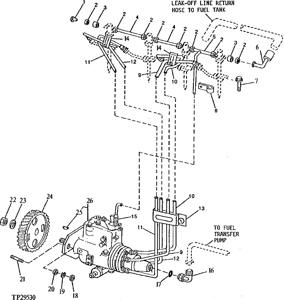
1

AR85519

Plug

(SUB FOR 16H658, THIS APPLICATION)

1шт.

2

R51937

Tube Nut

7шт.

3

R51936

Sealing Washer

7шт.

4

R66090

Tube

2шт.

5

AR85615

Line

Leak Off

1шт.

6

RE16142

Fuel Line

(TANK RETURN LEAK-OFF)

1шт.

7

R101201

Cap Screw

4шт.

8

T29969

Clamp

1шт.

19H2038

Cap Screw

3/8" X 1/2"

1шт.

N10215

Lock Nut

9.525 mm (3/8")

1шт.

9

RE43292

Fuel Line

(NO. 4)

1шт.

RE53871

Fuel Line

(NO.4)

1шт.

10

RE43291

Fuel Line

(NO. 3)

1шт.

RE53870

Fuel Line

(NO.3)

1шт.

11

RE43290

Fuel Line

(NO. 2)

1шт.

RE53869

Fuel Line

(NO.2)

1шт.

12

RE43289

Fuel Line

(NO. 1)

1шт.

RE53868

Fuel Line

(NO.1)

1шт.

13

RE19799

Clamp

1шт.

14

RE19797

Clamp

2шт.

15

R35352

Fitting

1шт.

16

RE56322

Tee Fitting

(SUB FOR AT32333)

1шт.

17

R26286

O-Ring

1шт.

18

14H785

Nut

5/16"

3шт.

19

12H303

Lock Washer

5/16"

3шт.

20

T27860

Washer

8.740 X 17.500 X 1.664 mm (11/32" X 0.689" X 0.066")

3шт.

21

T23442

Stud

3шт.

22

R91360

Nut

1шт.

23

R132874

Washer

(SUB FOR R48600)

1шт.

24

R104907

Gear

(48 TEETH)

1шт.

25

26H10

Shaft Key

5/32" X 5/8"

1шт.

26

RE45483

Fuel Injection Pump

(STANADYNE NO. DB4-4919)

1шт.

SE500584

Fuel Injection Pump Reman

(REMAN FOR RE45483)

1шт.

Выбрано товаров: 33