Запчасти John Deere 95D 18 - Q-SHIFT SOLENOID VALVE 2160 - MAIN HYDRAULIC SYSTEM 21

Схема запчастей John Deere 95D - 18 - Q-SHIFT SOLENOID VALVE 2160 - MAIN HYDRAULIC SYSTEM 21
FIT
1:1
100%

Артикул

Название

Примечание

Количество

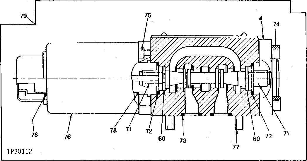
4

0322601

COVER

(SUB FOR AT133668)

1шт.

60

0322304

RETAINER

(SUB FOR AT133665)

2шт.

71

0322602

SPRING

(SUB FOR AT133669)

2шт.

72

R27166

O-RING

(SUB FOR AT127292)

2шт.

73

A3917R

O-RING

(SUB FOR TH101480)

4шт.

74

0215309

SCREW

(SUB FOR AT133670) (SUB FOR TH101502)

4шт.

75

19M7702

SCREW

M4 X 10, (SUB FOR AT127293)

4шт.

76

SOLENOID VALVE

( AT127295 NO LONGER AVAILABLE)

1шт.

77

19M9483

SCREW

M5 X 50, (SUB FOR TH101503) ( 0215310 NLA)

4шт.

78

T77858

O-RING

(SUB FOR AT127296)

2шт.

79

4213110

SOLENOID VALVE

(SUB FOR AT134074)

1шт.

Выбрано товаров: 11