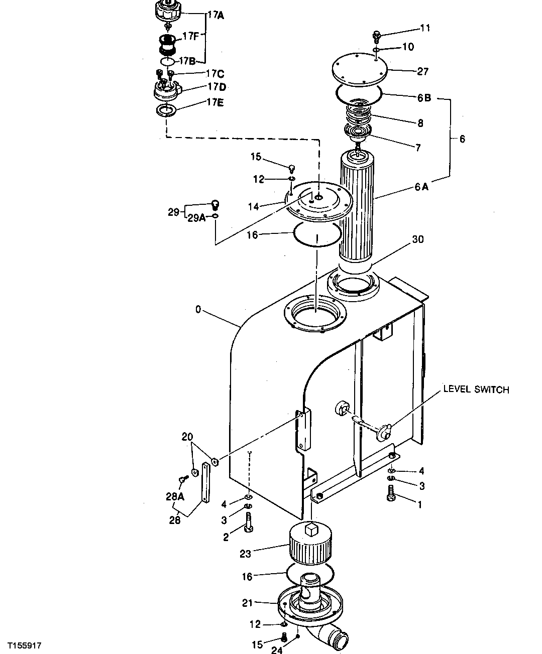
Запчасти John Deere 95D 28 - RESERVOIR 2160 - MAIN HYDRAULIC SYSTEM 21

Схема запчастей John Deere 95D - 28 - RESERVOIR 2160 - MAIN HYDRAULIC SYSTEM 21
FIT
1:1
100%

Артикул

Название

Примечание

Количество

0

6008040

HYDRAULIC RESERVOIR

(SUB FOR AT126924)

1шт.

1

19M7488

CAP SCREW

M16 X 40

2шт.

2

19M7720

CAP SCREW

M16 X 80

2шт.

3

12H294

LOCK WASHER

5/8"

4шт.

4

4114405

WASHER

(SUB FOR TH101105)

4шт.

6

AT308569

FILTER ELEMENT

(ALSO ORDER AT194547) (SUB FOR TH111010) (SUB FOR 4227353)

1шт.

6A

FILTER ELEMENT

(SUB TH111010 AND AT194547)

1шт.

6B

CH17213

PACKING

1шт.

6C

AT171693

FILTER

(NOT ILLUSTRATED) (CLEAN-UP FILTER) (LIMITED USE - APPROXIMATELY 3 HOURS) (IDLE SPEED) (ALSO REQUIRES CH17213 PACKING)

1шт.

7

4065280

FLOW CONTROL HYD. VALVE

(SUB FOR TH101887)

1шт.

8

4109393

SPRING

(SUB FOR TH101883)

1шт.

10

12M7066

LOCK WASHER

10 MM

6шт.

11

19M7938

CAP SCREW

M10 X 20

6шт.

12

12M7066

LOCK WASHER

10 MM

12шт.

14

8039826

COVER

(SUB FOR AT127047)

1шт.

15

19M8784

SCREW

M10 X 20, (SUB FOR TH101355, 19M8356)

12шт.

16

TH100679

O-RING

2шт.

17A

4326285

CAP

(SUB FOR TH111018) (SUB FOR AT167080)

1шт.

17B

T162516

O-RING

(SUB FOR TH111019, THIS APPLICATION)

1шт.

17C

19M8146

SCREW

M5 X 16

3шт.

17D

4222875

BASE

(SUB FOR TH111021)

1шт.

17E

4222876

PACKING

(SUB FOR TH111022)

1шт.

17F

4251384

FILTER ELEMENT

(SUB FOR AT122928)

1шт.

20

449558

WASHER

(SUB FOR TH100675)

4шт.

21

7017641

LINE

(SUB FOR AT126948)

1шт.

23

4190987

FILTER ELEMENT

(SUB FOR TH100678) (SUB FOR AT128326)

1шт.

24

94-2011

FITTING PLUG

(SUB FOR TH100434)

1шт.

27

4202009

COVER

(SUB FOR TH108292)

1шт.

28

8053499

LEVEL GAUGE

(SUB FOR TH108293)

1шт.

28A

4100967

BOLT

(SUB FOR TH101894)

2шт.

29

4209653

FITTING PLUG

(SUB FOR TH109514)

1шт.

29A

4506418

O-RING

(SUB FOR U46489)

1шт.

30

AT194547

O-RING

1шт.

Выбрано товаров: 33