Запчасти John Deere 95D 2 - BLADE 3301 - EXCAVATOR 33

Схема запчастей John Deere 95D - 2 - BLADE 3301 - EXCAVATOR 33
FIT
1:1
100%

Артикул

Название

Примечание

Количество

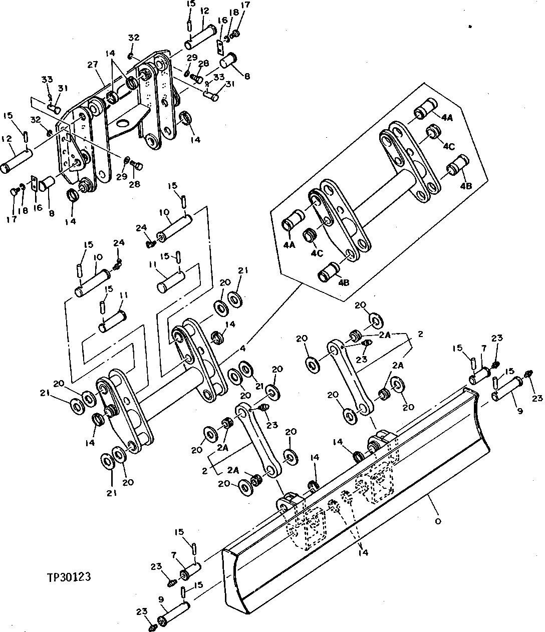
0

6009645

BLADE

(SUB FOR AT134275)

1шт.

2

8043535

LINK

(SUB FOR AT134285)

2шт.

2A

4232084

BUSHING

(SUB FOR AT134121)

2шт.

4

8043537

LINK

(SUB FOR AT134286)

1шт.

4A

4232086

BUSHING

(SUB FOR AT134123)

2шт.

4B

4232085

BUSHING

(SUB FOR AT134122)

2шт.

4C

TH108649

BUSHING

2шт.

7

3044368

PIN FASTENER

(SUB FOR AT134036)

2шт.

8

3044382

PIN FASTENER

(SUB FOR AT134040)

2шт.

9

3044369

PIN FASTENER

(SUB FOR AT134037)

2шт.

10

3044370

PIN FASTENER

(SUB FOR AT134038)

2шт.

11

3044367

PIN

(SUB FOR AT134035)

2шт.

12

3044371

PIN FASTENER

(SUB FOR AT134039)

2шт.

14

4065688

RETAINER

(SUB FOR TH100624)

10шт.

15

4065689

PIN FASTENER

(SUB FOR TH100625)

10шт.

16

X4246

STRAP

(SUB FOR AT133606)

2шт.

17

19M8011

CAP SCREW

M12 X 30

4шт.

18

12H301

LOCK WASHER

1/2"

4шт.

20

4179807

WASHER

(SUB FOR TH108045)

16шт.

21

4179808

WASHER

(SUB FOR AT121271)

16шт.

23

TH100074

LUBRICATION FITTING

6шт.

24

T116334

LUBRICATION FITTING

(SUB FOR TH100075)

2шт.

27

7020398

BRACKET

(SUB FOR AT134276)

1шт.

28

19M8224

CAP SCREW

M20 X 60

14шт.

29

N231749

WASHER

(SUB FOR T33089)

14шт.

31

4183279

PIN FASTENER

(SUB FOR AT126265)

2шт.

32

24M7202

WASHER

31 X 56 X 4 MM

2шт.

33

11M7056

COTTER PIN

8 X 50 MM

2шт.

Выбрано товаров: 28