Запчасти John Deere 95D 2 - BOOM 3340 - EXCAVATOR 33

Схема запчастей John Deere 95D - 2 - BOOM 3340 - EXCAVATOR 33
FIT
1:1
100%

Артикул

Название

Примечание

Количество

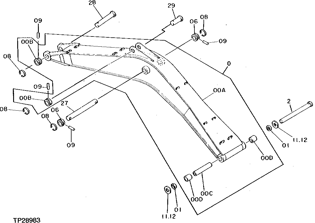
0

8035675

EXCAVATOR BOOM

(SUB FOR AT127003)

1шт.

0A

EXCAVATOR BOOM

(SUB AT127003)

1шт.

0B

TH108649

BUSHING

2шт.

0C

4196559

LINE

(SUB FOR TH108351)

1шт.

0D

4196556

BUSHING

(SUB FOR TH108923)

2шт.

1

TH100374

SEAL

2шт.

2

3043454

PIN FASTENER

(SUB FOR AT126171)

1шт.

6

TH108649

BUSHING

2шт.

8

4065688

RETAINER

(SUB FOR TH100624)

4шт.

9

4065689

PIN FASTENER

(SUB FOR TH100625)

4шт.

11

4075359

WASHER

(SUB FOR TH101314)

2шт.

12

4075360

WASHER

(SUB FOR TH101315)

2шт.

27

3042879

PIN

(SUB FOR AT126169)

1шт.

28

3037076

PIN

(SUB FOR AT126126)

1шт.

29

3044367

PIN

(SUB FOR TH108939) (SUB FOR AT134035)

1шт.

Выбрано товаров: 15