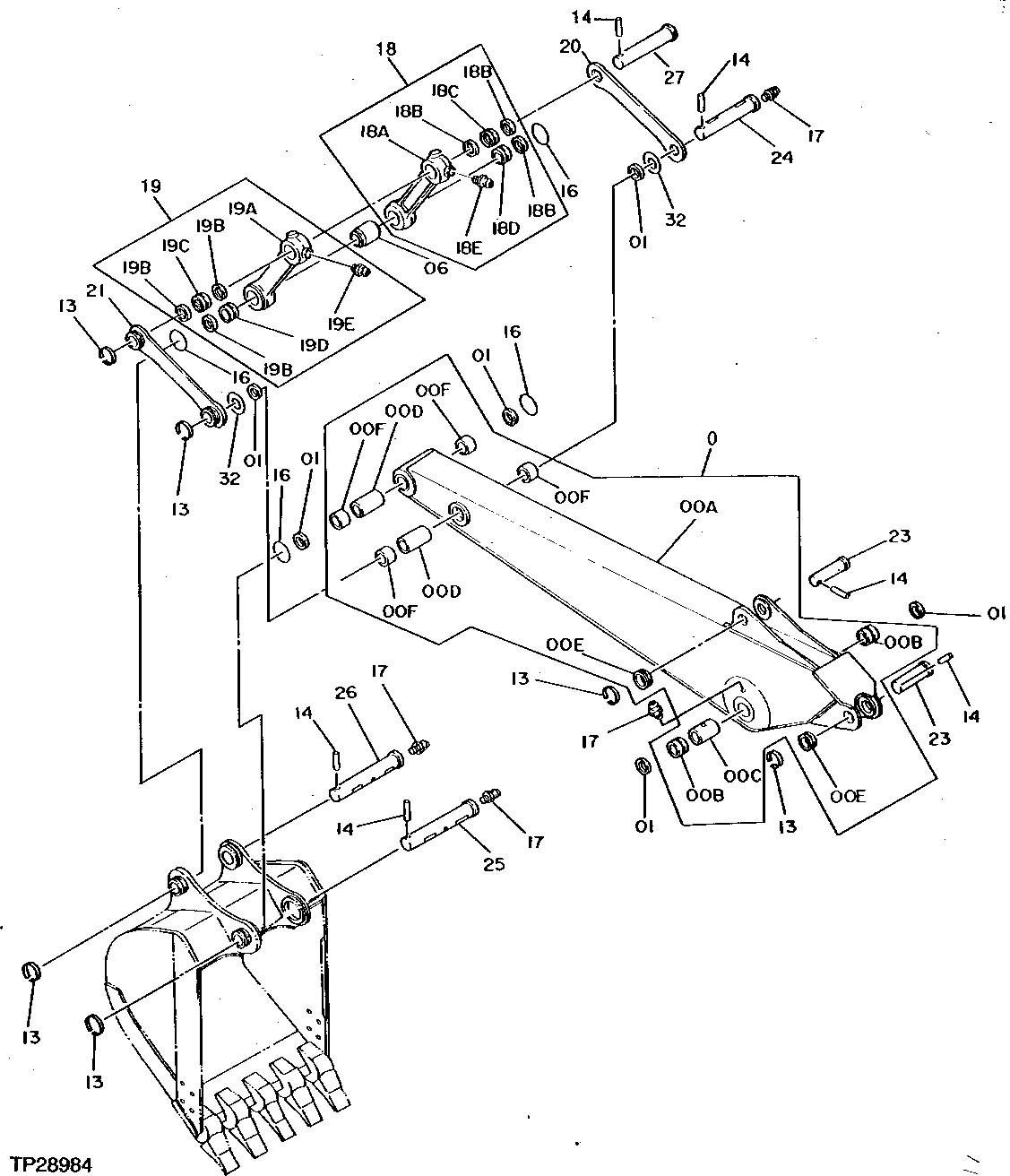
Запчасти John Deere 95D 6 - STANDARD ARM 3340 - EXCAVATOR 33

Схема запчастей John Deere 95D - 6 - STANDARD ARM 3340 - EXCAVATOR 33
FIT
1:1
100%

Артикул

Название

Примечание

Количество

0A

ARM

( AT126050 NO LONGER AVAILABLE)

1шт.

0B

4188449

BUSHING

(SUB FOR AT126275)

2шт.

0C

4128972

SPACER

(SUB FOR TH100370)

1шт.

0D

4124575

SPACER

(SUB FOR TH100369)

2шт.

0E

TH108649

BUSHING

2шт.

0F

AT122209

BUSHING

(SUB FOR TH108931)

4шт.

1

TH100374

SEAL

6шт.

6

4065885

SPACER

(SUB FOR TH100376)

1шт.

13

4065688

RETAINER

(SUB FOR TH100624)

6шт.

14

4065689

PIN FASTENER

(SUB FOR TH100625)

6шт.

16

TH100380

O-RING

4шт.

17

TH100074

LUBRICATION FITTING

5шт.

18

8038217

LINK

(SUB FOR AT127033)

1шт.

18A

LINK

(SUB AT127033)

1шт.

18B

TH100374

SEAL

3шт.

18C

4196557

BUSHING

(SUB FOR TH108934)

1шт.

18D

AT122209

BUSHING

(SUB FOR TH108931)

1шт.

18E

TH100074

LUBRICATION FITTING

1шт.

19

8038218

LINK

(SUB FOR AT127034)

1шт.

19A

LINK

(SUB AT127034)

1шт.

19B

TH100374

SEAL

3шт.

19C

4196557

BUSHING

(SUB FOR TH108934)

1шт.

19D

AT122209

BUSHING

(SUB FOR TH108931)

1шт.

19E

TH100074

LUBRICATION FITTING

1шт.

20

4199119

LINK

(SUB FOR AT126331)

1шт.

21

9727188

LINK

(SUB FOR AT127211)

1шт.

23

3044367

PIN

(SUB FOR TH108939) (SUB FOR AT134035)

2шт.

24

TH108940

PIN

1шт.

25

AT318059

PIN FASTENER

(SUB FOR 3084540) (ALSO ORDER TH100074, TH108941)

1шт.

26

P68886

PIN

(ALSO ORDER TH100074) (SUB FOR TH108942)

1шт.

27

P66990

SHEAR PIN

(SUB FOR TH108943)

1шт.

32

4075357

WASHER

(SUB FOR TH108944)

2шт.

Выбрано товаров: 32