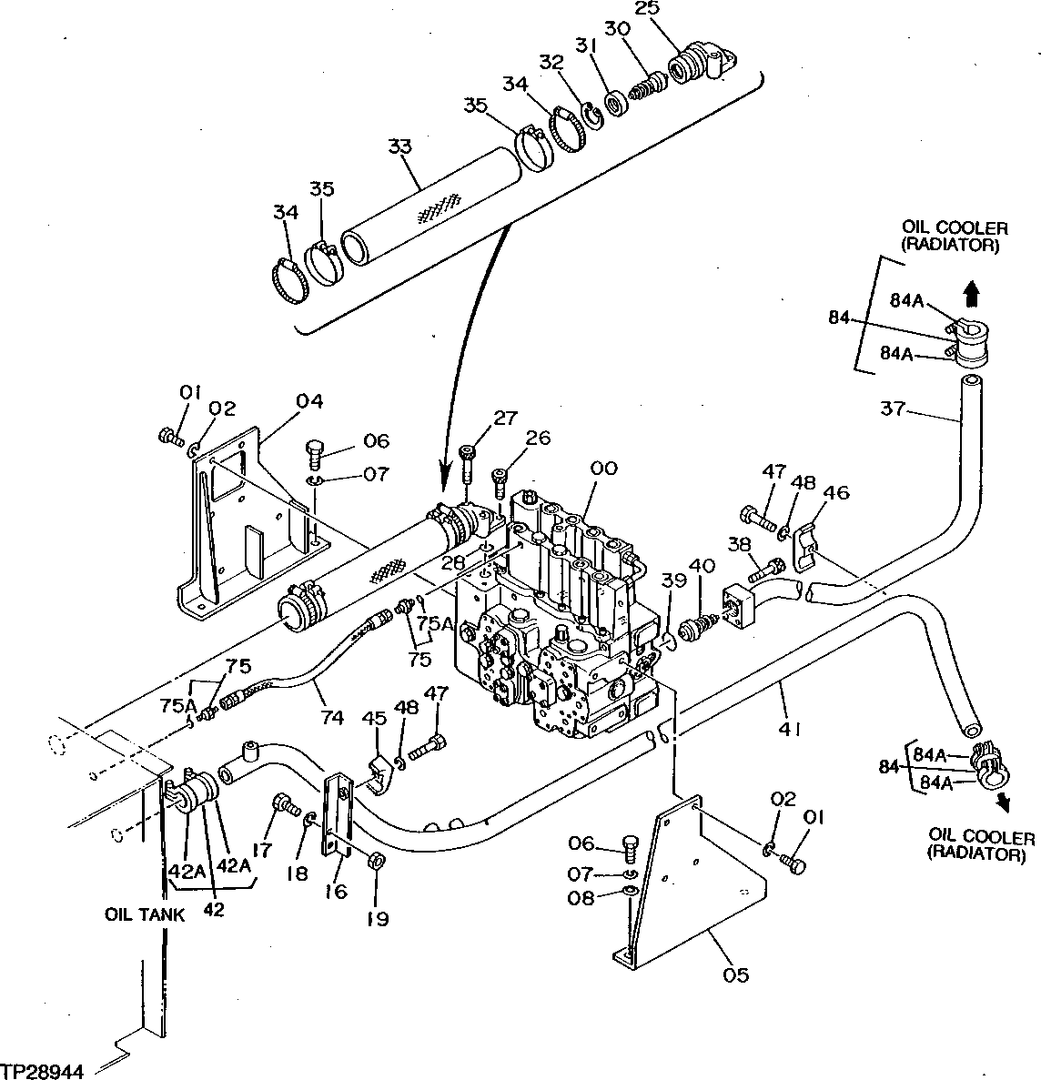
Запчасти John Deere 95D 14 - LOW PRESSURE HYDRAULIC HOSES AND LINES 3360 - EXCAVATOR 33

Схема запчастей John Deere 95D - 14 - LOW PRESSURE HYDRAULIC HOSES AND LINES 3360 - EXCAVATOR 33
FIT
1:1
100%

Артикул

Название

Примечание

Количество

0

4191114

HYD ACTUATED CONTROL VALVE

(SUB FOR AT126284)

1шт.

1

19M7877

CAP SCREW

M14 X 30

8шт.

2

12H317

LOCK WASHER

9/16"

8шт.

4

8037416

BRACKET

(SUB FOR TH108296)

1шт.

5

8037415

BRACKET

(SUB FOR TH108297)

1шт.

6

19M7403

CAP SCREW

M12 X 35

4шт.

7

12H301

LOCK WASHER

1/2"

4шт.

8

4086891

WASHER

(SUB FOR TH104166)

2шт.

16

9728378

SUPPORT

(SUB FOR AT127216)

1шт.

17

19M7403

CAP SCREW

M12 X 35

2шт.

18

12H301

LOCK WASHER

1/2"

2шт.

19

14M7275

NUT

M12

2шт.

25

2021613

MANIFOLD

(SUB FOR TH108304)

1шт.

26

M341022

SCREW

(SUB FOR TH105695)

2шт.

27

19M8340

SCREW

M10 X 65

2шт.

28

AT264324

O-RING

(SUB FOR TH100044) (USE IF AVAILABLE)

1шт.

AT264324

O-RING

(SUB FOR T32587, TH100044)

1шт.

30

4188627

FLOW CONTROL HYD. VALVE

(SUB FOR TH108305)

1шт.

31

4188628

RING

(SUB FOR TH108306)

1шт.

32

40M1864

SNAP RING

1шт.

33

4098558

HOSE

(SUB FOR TH108307)

1шт.

34

TY22472

CLAMP

(SUB FOR AT145651 OR AR21999)

2шт.

35

TY22488

HOSE CLAMP

(SUB FOR TH108308 OR AT39141, THIS APPLICATION) (SUB FOR AH104837)

2шт.

37

8044531

OIL LINE

(SUB FOR AT127138)

1шт.

38

19M8339

SCREW

M10 X 55

4шт.

39

4203137

O-RING

(SUB FOR TH108310)

1шт.

40

4202625

FLOW CONTROL HYD. VALVE

(SUB FOR TH108311)

1шт.

41

7020785

TUBE

(SUB FOR AT126983)

1шт.

42

4071213

COUPLING

(SUB FOR TH101923)

1шт.

42A

4196258

SEAL

(SUB FOR TH106965)

2шт.

45

4190127

CLAMP

(SUB FOR TH108313)

1шт.

46

4189860

CLAMP

(SUB FOR TH108314)

1шт.

47

19M8348

CAP SCREW

M12 X 65

2шт.

48

12H301

LOCK WASHER

1/2"

2шт.

74

AE42718

HYDRAULIC HOSE

1шт.

75

4200465

ADAPTER FITTING

(SUB FOR TH108328)

2шт.

75A

M800650

PACKING

1шт.

84

4069801

COUPLING

(SUB FOR TH101915)

2шт.

84A

4196259

SEAL

(SUB FOR TH106966)

2шт.

Выбрано товаров: 39