Запчасти John Deere 95D 20 - HIGH PRESSURE HYDRAULIC HOSES AND LINES 3360 - EXCAVATOR 33

Схема запчастей John Deere 95D - 20 - HIGH PRESSURE HYDRAULIC HOSES AND LINES 3360 - EXCAVATOR 33
FIT
1:1
100%

Артикул

Название

Примечание

Количество

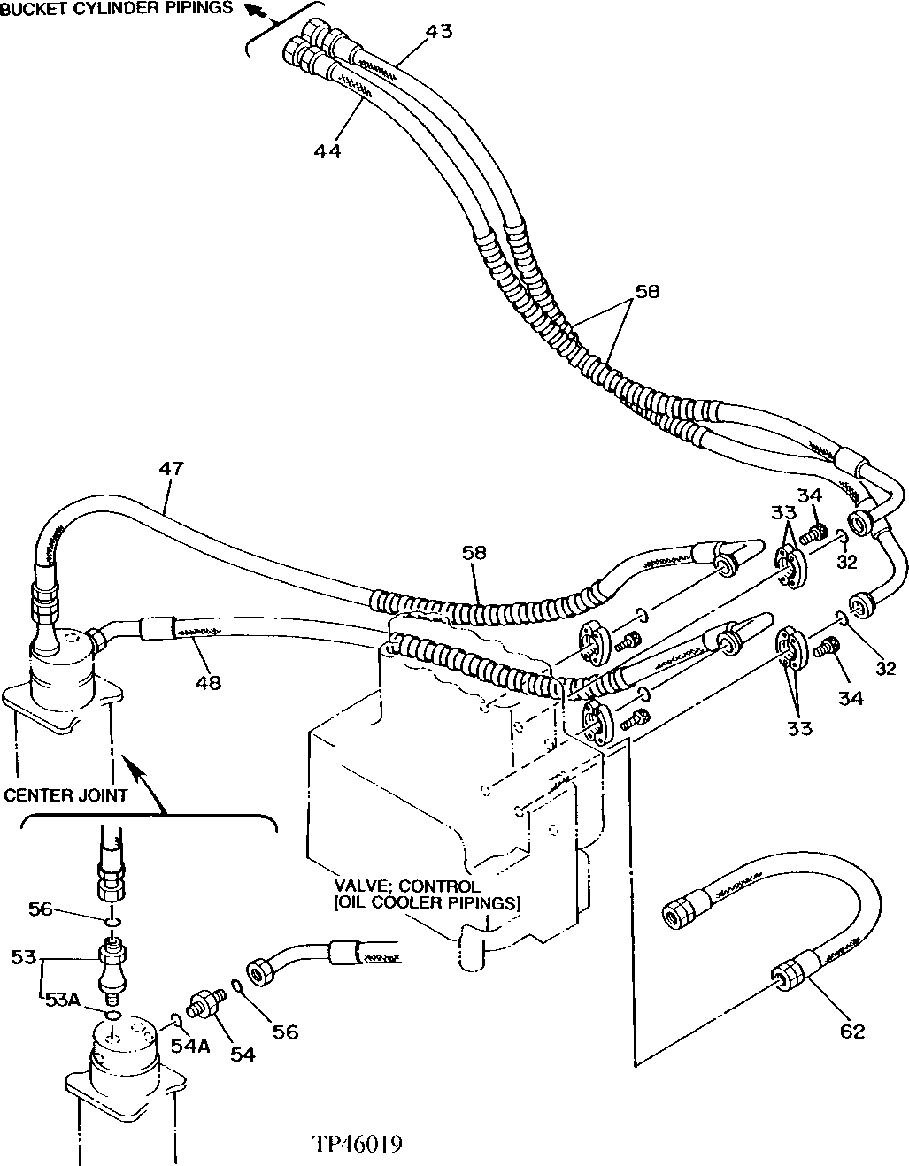
32

R69667

O-RING

(SUB FOR T59013)

4шт.

33

4510173

FITTING

(SUB FOR TH108341)

8шт.

34

19M8439

SCREW

16шт.

43

4200426

HOSE

(SUB FOR TH108343)

1шт.

44

4187347

HOSE

(SUB FOR TH108344)

1шт.

47

4209787

HYDRAULIC HOSE

(SUB FOR AT126486)

1шт.

48

4209788

HYDRAULIC HOSE

(SUB FOR AT126487)

1шт.

53

4189539

ADAPTER FITTING

(SUB FOR AT107393)

1шт.

53A

AT318035

O-RING

(SUB FOR 4506424, TH100055)

1шт.

54

X8-10F5OX

ADAPTER FITTING

(SUB FOR TH110204 OR TH101006, ALONG WITH U46489)

1шт.

54A

4506418

O-RING

(SUB FOR U46489)

1шт.

56

T77858

O-RING

(SUB FOR TH108349)

2шт.

58

HOSE GUARD

(MAKE FROM XHG-075 BULK MATERIAL, CUT TO LENGTH) (SUB FOR AT138222) ( TH100996 NO LONGER AVAILABLE)

4шт.

62

AT126482

HYDRAULIC HOSE - FABRICATE

1шт.

Выбрано товаров: 14