Запчасти John Deere 95D 48 - AUXILIARY FUNCTION HYDRAULIC HOSES AND LINES 3360 - EXCAVATOR 33

Схема запчастей John Deere 95D - 48 - AUXILIARY FUNCTION HYDRAULIC HOSES AND LINES 3360 - EXCAVATOR 33
FIT
1:1
100%

Артикул

Название

Примечание

Количество

2

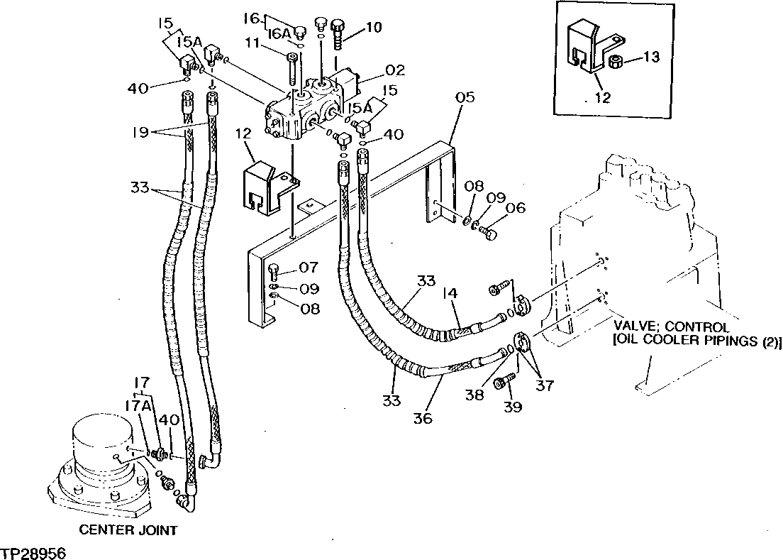
CONTROL VALVE

(SUB AT130824) ( AT126343 NO LONGER AVAILABLE)

1шт.

4263455

HYD ACTUATED CONTROL VALVE

(SUB FOR AT126343) (SUB FOR AT130824)

1шт.

5

8043181

SUPPORT

(SUB FOR AT134282)

1шт.

6

19M8011

CAP SCREW

M12 X 30

2шт.

7

19M7403

CAP SCREW

M12 X 35

1шт.

8

24M7047

WASHER

13 X 24 X 2.500 MM

3шт.

9

12H301

LOCK WASHER

1/2"

3шт.

10

19M8547

SCREW

M12 X 90, (SUB FOR AT127258 OR M341290)

1шт.

11

19M8442

SCREW

M12 X 100, (USE WITH AT126343)

2шт.

19M8547

SCREW

M12 X 90, (USE WITH AT130824) (SUB FOR AT127258 OR M341290)

2шт.

12

3053525

COVER

(SUB FOR AT130803) (SUB FOR AT130825)

1шт.

13

14M7275

NUT

M12, (USE WITH AT126343)

2шт.

14

AT126737

HYDRAULIC HOSE - FABRICATE

1/2" X 650 MM (25-1/2") X 13/16"

1шт.

15

4217341

ELBOW FITTING

(SUB FOR AT126684)

4шт.

15A

AT318035

O-RING

(SUB FOR 4506424, TH100055)

1шт.

16

4174542

DRAIN PLUG

(SUB FOR TH110478)

2шт.

16A

AT318035

O-RING

(SUB FOR 4506424, TH100055)

1шт.

17

4189602

FITTING

(SUB FOR TH108350)

2шт.

17A

4506418

O-RING

(SUB FOR U46489)

1шт.

19

AT126690

HYDRAULIC HOSE - FABRICATE

13/16" X 700 MM (27-1/2") X 13/16"

2шт.

33

HOSE GUARD

(MAKE FROM XHG-075 BULK MATERIAL, CUT TO LENGTH) (SUB FOR AT138222) ( TH100996 NO LONGER AVAILABLE)

4шт.

36

AT126682

HYDRAULIC HOSE - FABRICATE

1/2" X 800 MM (31-1/2") X 13/16"

1шт.

37

4510173

FITTING

(SUB FOR TH108341)

4шт.

38

R69667

O-RING

(SUB FOR T59013)

2шт.

39

19M8439

SCREW

M8 X 25

8шт.

40

T77857

O-RING

(SUB FOR TH108323)

6шт.

Выбрано товаров: 26