Запчасти John Deere 95D 106 - BUCKET CYLINDER 3360 - EXCAVATOR 33

Схема запчастей John Deere 95D - 106 - BUCKET CYLINDER 3360 - EXCAVATOR 33
FIT
1:1
100%

Артикул

Название

Примечание

Количество

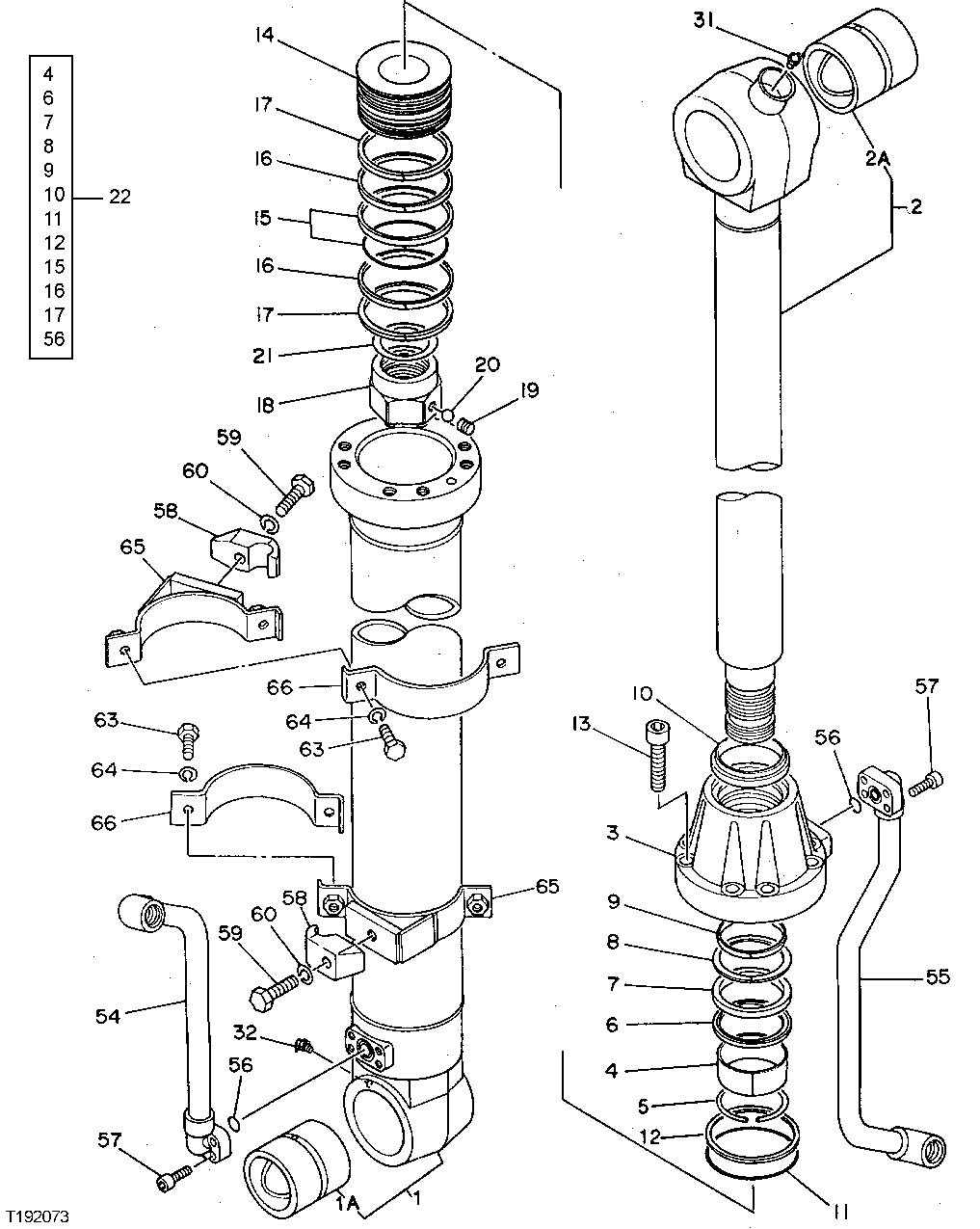
1

4227371

HYDRAULIC CYLINDER BARREL

(SUB FOR AT134099)

1шт.

1A

0310513

BUSHING

(SUB FOR TH109383)

1шт.

2

4227372

ROD

(SUB FOR AT134100)

1шт.

2A

0174403

BUSHING

(SUB FOR TH104939)

1шт.

3

0310603

CYLINDER HEAD

(SUB FOR TH109371)

1шт.

4

AT264389

WEAR RING

(K) (SUB FOR TH109372)

1шт.

5

4510494

SNAP RING

(SUB FOR TH106169)

1шт.

6

AT264376

RING

(K) (SUB FOR TH105766, 4S00167)

1шт.

7

AT264374

SEAL

(K) (SUB FOR TH105764)

1шт.

8

AT264375

BACK-UP RING

(K) (SUB FOR TH105765)

1шт.

9

AT264390

RING

(K) (SUB FOR 4S00135, TH109373)

1шт.

10

H158164

SCRAPER RING

(K) (SUB FOR TH105763)

1шт.

11

CH18696

PACKING

(K)

1шт.

12

AT264391

BACK-UP RING

(K) (SUB FOR TH109374)

1шт.

13

M341656

BOLT

(SUB FOR TH109319 OR 0163406)

8шт.

14

0310607

PISTON

(SUB FOR TH109375)

1шт.

15

AT264392

RING

(K) (SUB FOR TH109376)

1шт.

16

AT264393

RING

(K) (SUB FOR TH109377, 4S00138)

2шт.

17

AT264394

RING

(K) (SUB FOR TH109378)

2шт.

18

0310611

NUT

(SUB FOR TH109379)

1шт.

19

22M7139

SET SCREW

M10 X 10, (SUB FOR 22M7139)

1шт.

20

400R

BALL

(SUB FOR TH109381)

1шт.

21

0310613

SHIM

(SUB FOR TH109382)

1шт.

22

AT264445

SEAL KIT

(SUB FOR TH109390) (INCLUDES PARTS MARKED (K))

1шт.

31

TH100074

LUBRICATION FITTING

1шт.

32

T116334

LUBRICATION FITTING

(SUB FOR TH100075)

1шт.

33

CYLINDER

( AT127266 NO LONGER AVAILABLE) (SUB AT182453) (NOT ILLUSTRATED) (CONTAINS ITEMS 1 THRU 32)

1шт.

AT182453

CYLINDER

(REMANUFACTURED)

1шт.

54

4S00336

LINE

(SUB FOR AT133662)

1шт.

55

0310615

LINE

(SUB FOR AT133663)

1шт.

56

O-RING

(K) (SUB FOR TH103574) (SUB 0976602) ( AT264354 NSEP)

2шт.

57

19M8439

SCREW

M8 X 25

8шт.

58

0310616

CLAMP

(SUB FOR TH109386)

2шт.

59

19M7493

CAP SCREW

M12 X 40, (SUB FOR TH109387)

2шт.

60

12M7058

LOCK WASHER

12 MM, (SUB FOR 12M7067)

2шт.

63

19M7550

CAP SCREW

M10 X 35

4шт.

64

12M7066

LOCK WASHER

10 MM

4шт.

65

0310618

BAND

(SUB FOR TH109388)

2шт.

66

0310619

BAND

(SUB FOR TH109389)

2шт.

67

SEAL

(ROD AND HEAD END) (NOT ILLUSTRATED OR INCLUDED IN CYLINDER ASSEMBLY - FOR DETAIL SEE BOOM AND ARM HYDRAULIC HOSES AND LINES)

2шт.

Выбрано товаров: 40