Запчасти John Deere 95D 8 - TRANSMISSION LOW-HIGH SHIFT 315 - TRANSMISSION 3

Схема запчастей John Deere 95D - 8 - TRANSMISSION LOW-HIGH SHIFT 315 - TRANSMISSION 3
FIT
1:1
100%

Артикул

Название

Примечание

Количество

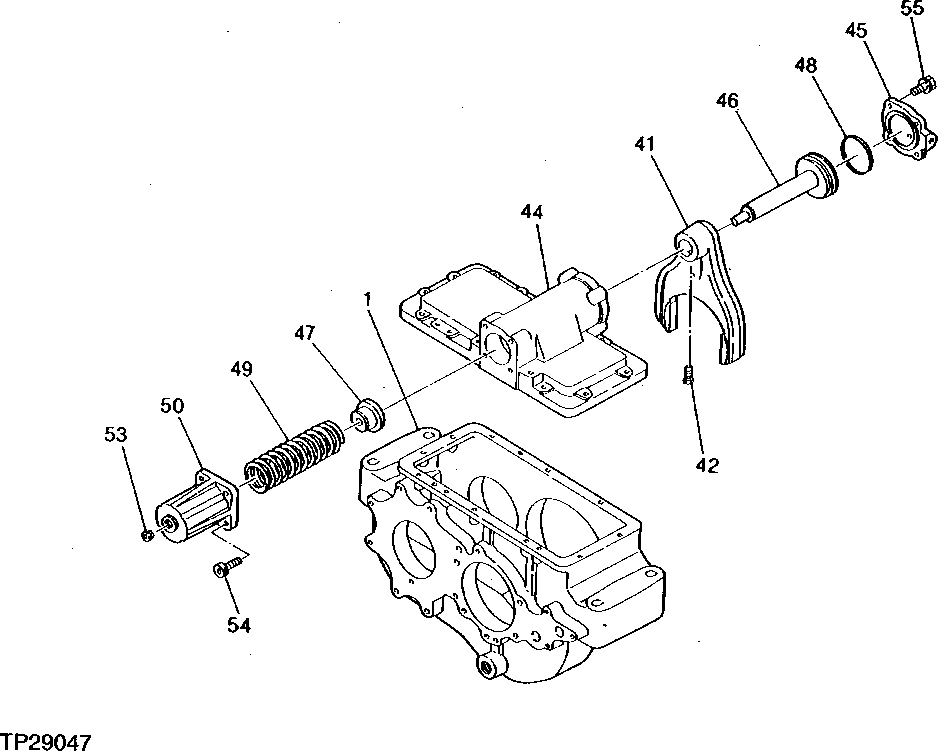
1

CASE

( 0326501 NO LONGER AVAILABLE) (SUB FOR AT133726)

1шт.

41

0326522

ARM

(SUB FOR AT133745)

1шт.

42

0326523

BOLT

(SUB FOR AT133746)

1шт.

44

0326525

ELBOW FITTING

(SUB FOR AT133748)

1шт.

45

0326526

COVER

(SUB FOR AT133749)

1шт.

46

0326527

ROD

(SUB FOR AT133750)

1шт.

47

0326528

BUSHING

(SUB FOR AT133751)

1шт.

48

4113162

O-RING

(SUB FOR AT133752)

1шт.

49

0326530

SPRING

(SUB FOR AT133753)

1шт.

50

0326531

COVER

(SUB FOR AT133754)

1шт.

53

9092054210

PLUG

(SUB FOR AT127302, 0326534)

1шт.

54

19M8440

SCREW

M10 X 25, (SUB FOR AT133764)

4шт.

55

19M7402

CAP SCREW

M10 X 25

4шт.

60

4178118

TRANSMISSION

(SUB FOR AT126240) (NOT ILLUSTRATED) CONTAINS ALL ITEMS ON THIS PAGE, ADDITIONAL COMPONENTS LISTED ON PREVIOUS AND FOLLOWING PAGES)

1шт.

Выбрано товаров: 14