Запчасти John Deere 95D 1 - CYLINDER BLOCK AND MAIN BEARING CAPS 404 - ENGINE 4

Схема запчастей John Deere 95D - 1 - CYLINDER BLOCK AND MAIN BEARING CAPS 404 - ENGINE 4
FIT
1:1
100%

Артикул

Название

Примечание

Количество

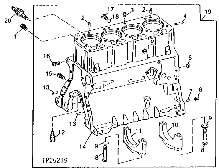
1

R55233

PIPE PLUG

1шт.

2

R48685

DOWEL PIN

2шт.

3

RE57836

PIPE PLUG

1/2", (SUB FOR 15H561)

1шт.

4

T25701

STUD

1шт.

5

T18891

PLUG

2шт.

6

R57160

BUSHING

6шт.

7

R26650

DOWEL PIN

2шт.

8

T23474

CAP SCREW

10шт.

9

T20168

WASHER

10шт.

10

R65215

BEARING CAP

4шт.

11

R79089

CAP

1шт.

12

R54802

ORIFICE

4шт.

13

R48685

DOWEL PIN

2шт.

14

CYLINDER BLOCK

1шт.

15

R104592

PIPE PLUG

(SUB FOR 15H558, THIS APPLICATION)

5шт.

16

15H562

PIPE PLUG

1"

1шт.

17

R39741

DRAIN PLUG

(WITHOUT ENGINE COOLANT HEATER)

1шт.

18

U13639

O-RING

(WITHOUT ENGINE COOLANT HEATER)

1шт.

19

RE31517

CYLINDER BLOCK

(MARKED R90170) (SUB RE50671) (ALSO ORDER R83169, T27658, R111135, R111137 AND R112867)

1шт.

20

AT85174

SWITCH

(ENGINE OIL PRESSURE)

1шт.

Выбрано товаров: 20