Запчасти John Deere 95D 8 - FUEL INJECTION PUMP ELECTRIC SHUT-OFF KIT 413 - ENGINE 4

Схема запчастей John Deere 95D - 8 - FUEL INJECTION PUMP ELECTRIC SHUT-OFF KIT 413 - ENGINE 4
FIT
1:1
100%

Артикул

Название

Примечание

Количество

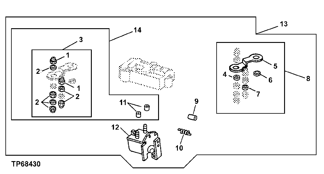
1

M63431

LOCK NUT

2шт.

2

KIT

(SUB AR90601)

1шт.

3

AR90601

KIT

NUT AND WASHER

1шт.

4

12M7084

LOCK WASHER

(SUB FOR R47077)

1шт.

5

STRAP

(SUB AR50874)

1шт.

6

12H295

LOCK WASHER

0.190"

1шт.

7

WASHER

(SUB AR50874)

1шт.

8

AR50874

KIT

GROUNDING STRAP

1шт.

9

R48795

SLEEVE

1шт.

10

T11935

SPRING

1шт.

11

T11937

INSULATOR

2шт.

12

SOLENOID

1шт.

13

RE62241

SOLENOID

(ALSO ORDER RE37091) (SUB FOR AR90341) SHUT-OFF

1шт.

14

GASKET KIT

( AR34612 - NO LONGER AVAILABLE)

1шт.

Выбрано товаров: 14