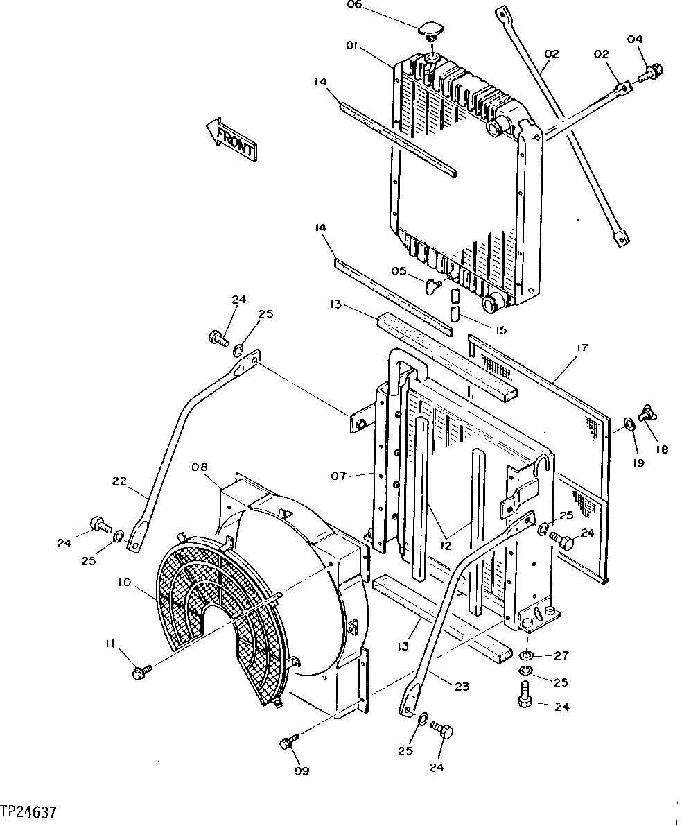
Запчасти John Deere 95D 2 - RADIATOR, OIL COOLER AND FAN GUARD 510 - ENGINE AUXILIARY 5

Схема запчастей John Deere 95D - 2 - RADIATOR, OIL COOLER AND FAN GUARD 510 - ENGINE AUXILIARY 5
FIT
1:1
100%

Артикул

Название

Примечание

Количество

1

4239567

RADIATOR

(SUB FOR AT126843) RADIATOR

1шт.

2

4206676

ROD

(SUB FOR TH108222)

2шт.

4

4206679

SCREW WITH WASHER

(SUB FOR TH108223)

4шт.

5

4148705

DRAIN PLUG

(SUB FOR TH100907) (SUB FOR TH109425)

1шт.

6

AT169085

FILLER CAP

(SUB FOR TH111864)

1шт.

7

4239568

OIL COOLER

(SUB FOR AT126844)

1шт.

8

4243420

GUIDE

(SUB FOR AT126878)

1шт.

9

4218646

BOLT

(SUB FOR AT126876)

8шт.

10

4243147

GUARD

(SUB FOR AT126873)

1шт.

11

19M7932

CAP SCREW

M8 X 16, (SUB FOR TH108229, 4206128, AT202245 OR 4331649)

7шт.

12M7065

LOCK WASHER

8 MM

7шт.

12

4206672

PAD

(SUB FOR TH108230)

2шт.

13

4200220

PAD

(SUB FOR TH108231)

2шт.

14

4200221

PAD

(SUB FOR TH108232)

2шт.

15

HOSE

OVERFLOW ( TH106433 NO LONGER AVAILABLE) (MAKE FROM 1/2 INCH VINYL TUBING CUT TO LENGTH)

1шт.

17

4196945

SCREEN

(SUB FOR TH108235)

1шт.

18

21M1689

WING SCREW

M6 X 12

4шт.

19

24M7054

WASHER

6.400 X 12 X 1.600 MM

4шт.

22

4204723

STOP

(SUB FOR TH108238)

1шт.

23

4231829

SUPPORT

(SUB FOR AT126808)

1шт.

24

19M8035

CAP SCREW

M16 X 35

8шт.

25

12H294

LOCK WASHER

5/8"

8шт.

27

4114405

WASHER

(SUB FOR TH101105)

4шт.

Выбрано товаров: 23