Запчасти John Deere 95D 2 - ENGINE SPEED CONTROLS 515 - ENGINE AUXILIARY 5

Схема запчастей John Deere 95D - 2 - ENGINE SPEED CONTROLS 515 - ENGINE AUXILIARY 5
FIT
1:1
100%

Артикул

Название

Примечание

Количество

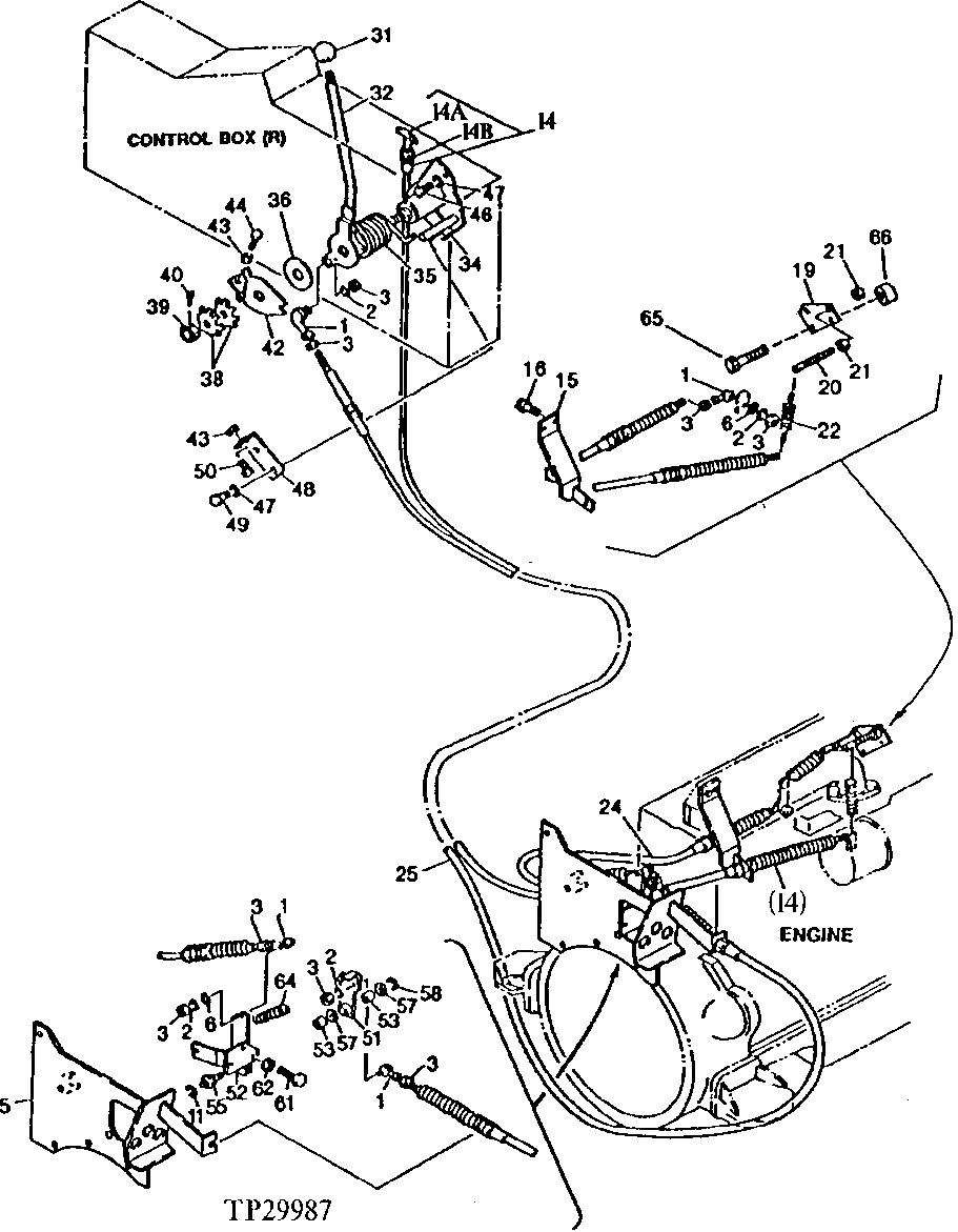
1

4056016

BALL JOINT

(SUB FOR TH100325)

4шт.

2

12M7064

LOCK WASHER

5 MM

4шт.

3

14M7297

NUT

M5

8шт.

5

7020850

BRACKET

(SUB FOR AT126987)

1шт.

6

24M7027

WASHER

5.300 X 10 X 1 MM

2шт.

11

12H317

LOCK WASHER

9/16"

1шт.

14

CABLE

( 4284366 NO LONGER AVAILABLE) (SUB FOR AT134127, AT131280)

1шт.

14A

T114379

HANDLE

(SUB FOR TH108083) (6 MM THREADS) (FITS 95° OF MACHINES)

1шт.

T114380

HANDLE

(5 MM THREADS) (FITS 5° OF MACHINES)

1шт.

14B

4285479

NUT

(SUB FOR AT131248) (SUB FOR AT131285)

1шт.

15

8044453

BRACKET

(SUB FOR AT127134)

1шт.

16

19M7938

CAP SCREW

M10 X 20

2шт.

19

4192958

BRACKET

(SUB FOR TH105612)

1шт.

20

4147995

STUD

(SUB FOR TH103792)

1шт.

21

14M7274

NUT

M10

2шт.

22

4192959

SPRING

(SUB FOR TH105613)

1шт.

24

4245625

CABLE

(SUB FOR AT127746)

1шт.

25

4247109

CABLE

(SUB FOR AT134131)

1шт.

31

4143169

KNOB

(SUB FOR TH100268)

1шт.

32

7020608

LEVER

(SUB FOR AT134280)

1шт.

34

7017779

BRACKET

(SUB FOR TH108357)

1шт.

35

4197648

SPRING

(SUB FOR TH108358)

1шт.

36

428770

WASHER

(SUB FOR TH100562)

1шт.

38

4502974

WASHER

(SUB FOR TH100564)

2шт.

39

M631619

NUT

(SUB FOR TH100565)

1шт.

40

11M7087

COTTER PIN

4 X 40 MM, (SUB FOR 11M7023)

1шт.

42

8041221

GUIDE

(SUB FOR AT134281)

1шт.

43

14M7274

NUT

M10

2шт.

44

19M7550

CAP SCREW

M10 X 35

1шт.

46

19M7932

CAP SCREW

M8 X 16

1шт.

47

12M7056

LOCK WASHER

8 MM, (SUB FOR 12M7065)

3шт.

48

9729660

BRACKET

(SUB FOR AT134299)

1шт.

49

19M7376

CAP SCREW

M8 X 22, (SUB FOR AT133604)

2шт.

50

19M7382

CAP SCREW

M10 X 40, (SUB FOR 19M7183)

1шт.

51

8044341

LEVER

(SUB FOR TH108361) (SUB FOR AT127133)

1шт.

52

7021208

LEVER

(SUB FOR AT127912)

1шт.

53

4173387

BUSHING

(SUB FOR TH103802)

2шт.

55

4188374

STUD

(SUB FOR TH108362)

1шт.

57

24M7085

WASHER

15 X 28 X 2.500 MM

2шт.

58

40M7188

SNAP RING

1шт.

61

4188376

ADAPTER FITTING

(SUB FOR TH108363)

3шт.

62

14M7254

NUT

M8, (SUB FOR TH108364 OR 4122395)

3шт.

64

4216154

EXTENSION SPRING

(SUB FOR TH111670)

1шт.

65

19H1726

CAP SCREW

3/8" X 2-1/4"

2шт.

66

28H2497

SPACER

0.423" X 0.675" X 5/8", (SUB FOR E70736)

2шт.

Выбрано товаров: 45