Запчасти John Deere 95D 16 - STEERING SWITCH VALVE 960 - STEERING SYSTEM 9

Схема запчастей John Deere 95D - 16 - STEERING SWITCH VALVE 960 - STEERING SYSTEM 9
FIT
1:1
100%

Артикул

Название

Примечание

Количество

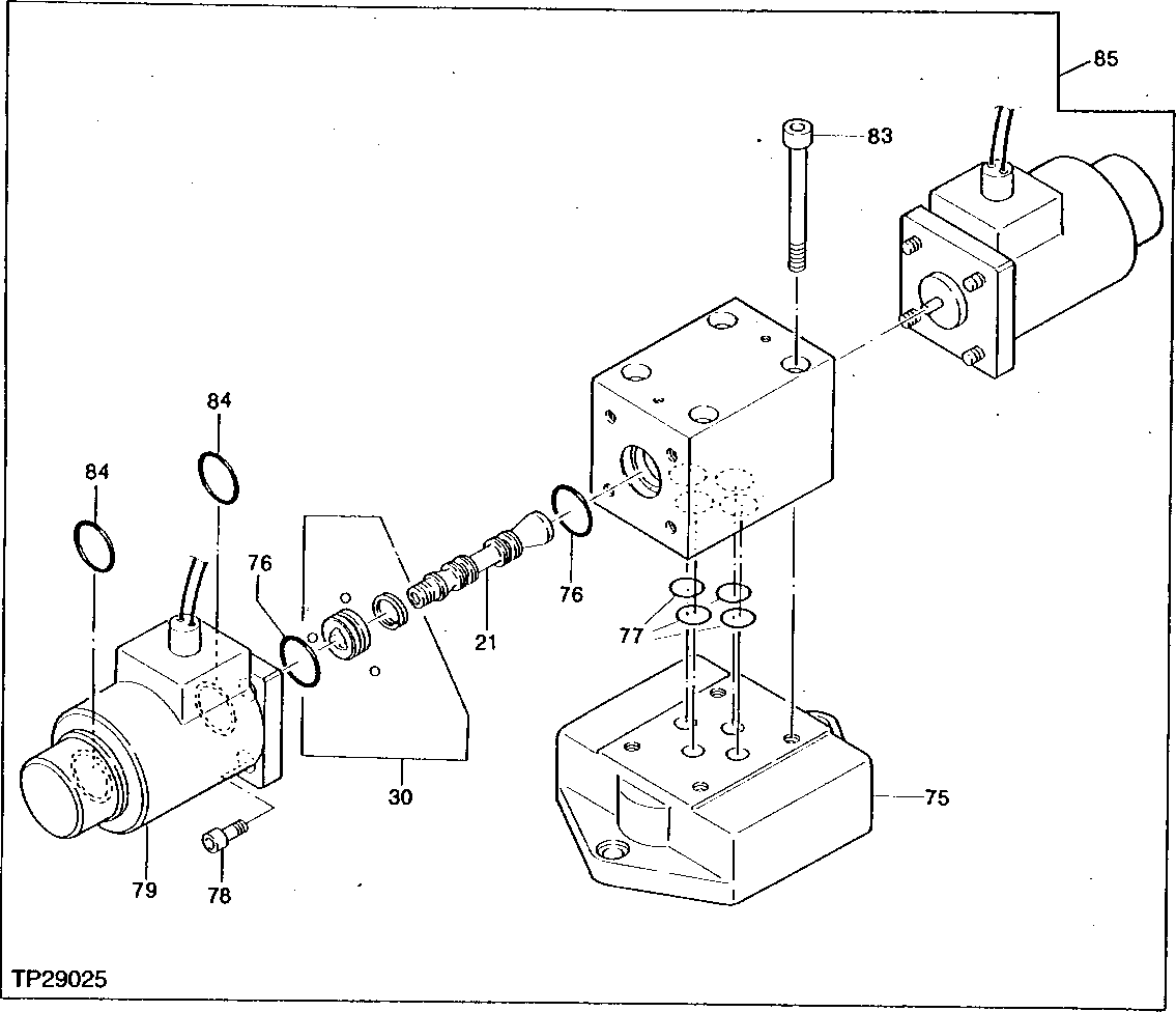
21

VALVE SPOOL

(SUB 4350151) (SUB FOR AT130806)

1шт.

30

0374706

STOP

(SUB FOR AT128325)

1шт.

75

0374707

PLATE

(SUB FOR AT128350)

1шт.

76

R27166

O-RING

(SUB FOR AT127292)

2шт.

77

A3917R

O-RING

(SUB FOR TH101480)

4шт.

78

19M7702

SCREW

M4 X 10, (SUB FOR AT127293)

8шт.

79

SOLENOID VALVE

( AT127295 NO LONGER AVAILABLE)

2шт.

83

19M9483

SCREW

M5 X 50, (SUB FOR TH101503) (SUB FOR 0215310)

4шт.

84

T77858

O-RING

(SUB FOR AT127296) (USE WITH AT126875)

4шт.

85

SOLENOID VALVE

( AT126875 NO LONGER AVAILABLE) (SUB 4350151, ALONG WITH AT130947)

1шт.

4350151

SOLENOID VALVE

(ALSO ORDER AT130947) (SUB FOR AT130806)

1шт.

Выбрано товаров: 11