Запчасти John Deere 95D 2 - MAIN HYDRAULIC PUMP AND DRIVE 2160 - MAIN HYDRAULIC SYSTEM 21

Схема запчастей John Deere 95D - 2 - MAIN HYDRAULIC PUMP AND DRIVE 2160 - MAIN HYDRAULIC SYSTEM 21
FIT
1:1
100%

Артикул

Название

Примечание

Количество

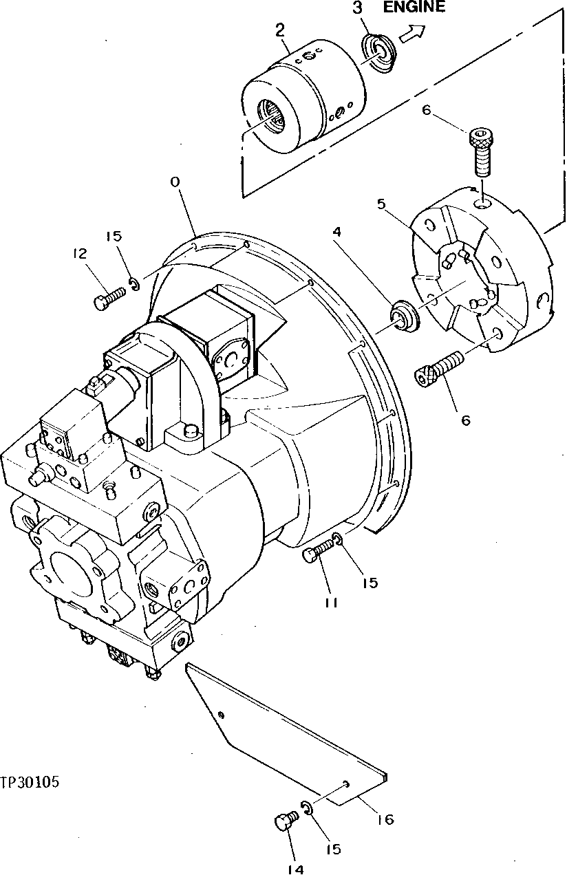
0

4621878

HYDRAULIC PUMP

(SUB FOR AT126860) ( 4240877 NO LONGER AVAILABLE)

1шт.

2

3038723

SLEEVE

(SUB FOR TH108254)

1шт.

3

30M7026

PLUG

50 MM (1.969") (SUB FOR TH100682)

1шт.

4

4063616

SEAL

(SUB FOR TH100683)

1шт.

5

4228189

COUPLING

(SUB FOR TH100684) (SUB FOR AT122329)

1шт.

6

T108085

CAP SCREW

M16 X 50

8шт.

11

19H3483

CAP SCREW

9.525 X 28.575 MM (3/8" X 1-1/8")

5шт.

12

19H3385

CAP SCREW

12.700 X 28.575 MM (1/2" X 1-1/8")

3шт.

14

19H1648

CAP SCREW

9.525 X 19.050 MM (3/8" X 3/4")

2шт.

15

12H304

LOCK WASHER

9.525 MM (3/8")

10шт.

16

4232088

COVER

(SUB FOR AT126811)

1шт.

Выбрано товаров: 11