Запчасти John Deere 0 6 - HYDRAULIC RESERVOIR 2160 - MAIN HYDRAULIC SYSTEM 21

Схема запчастей John Deere 0 - 6 - HYDRAULIC RESERVOIR 2160 - MAIN HYDRAULIC SYSTEM 21
FIT
1:1
100%

Артикул

Название

Примечание

Количество

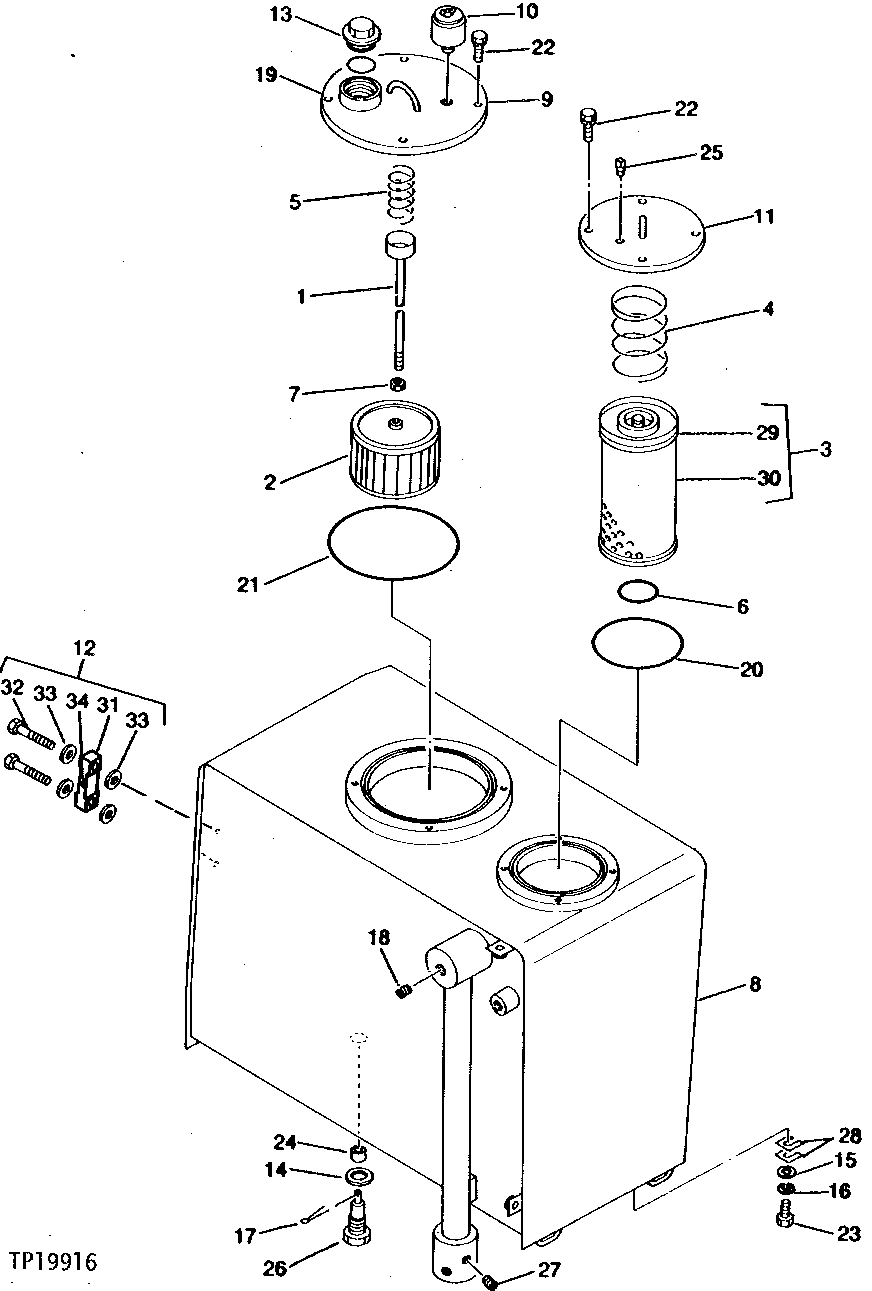
1

AT110131

TIE BAR

1шт.

2

AT110005

STRAINER

1шт.

3

STRAINER

(SUB T110029 AND T110030 FOR AT110006)

1шт.

4

T110031

SPRING

1шт.

5

T110032

SPRING

1шт.

6

CH17154

PACKING

1шт.

7

14M7274

NUT

M10

1шт.

8

T110917

HYDRAULIC RESERVOIR

1шт.

9

T110918

COVER

1шт.

10

T110919

BREATHER

1шт.

11

AT110069

COVER

1шт.

12

T110920

GAUGE

1шт.

13

T110921

PLUG

1шт.

14

T110409

WASHER

1шт.

15

CH12008

WASHER

5шт.

16

12M7068

LOCK WASHER

14 MM

5шт.

17

11M7058

COTTER PIN

2 X 25 MM, (SUB FOR T110418) (SUB FOR 11M7009)

1шт.

18

T110431

PLUG

1шт.

19

T110922

O-RING

1шт.

20

CH14695

PACKING

1шт.

21

T110444

O-RING

189.300 X 5.700 MM (7.453" X 0.224")

1шт.

22

19M7166

CAP SCREW

M10 X 20

8шт.

12M7066

LOCK WASHER

10 MM

8шт.

23

T110806

BOLT

(CONTAINS (2) T110818)

5шт.

T110818

SPRING

(NOT ILLUSTRATED)

2шт.

24

T110629

MAGNET

1шт.

25

T110630

FITTING

1шт.

26

T110631

DRAIN PLUG

1шт.

27

T110430

PLUG

1шт.

28

T110080

SPACER

2шт.

29

T110030

HYDRAULIC PRESSURE VALVE

(SUB FOR AT110006 ALONG WITH T110029)

1шт.

30

T110029

FILTER ELEMENT

(SUB FOR AT110006 ALONG WITH T110030)

1шт.

31

GAUGE

(SUB T110920 FOR T114044)

1шт.

32

BOLT

( T114045 NO LONGER AVAILABLE)

2шт.

33

T114046

GASKET

4шт.

34

TUBE

(SUB T110920 FOR T114047)

1шт.

Выбрано товаров: 36