Качественные детали и логистика
Оригинальные и аналоговые запчасти с доставкой по России, Казахстану и Беларуси
©2022 PartSell ООО "Система" ИНН 2463123282 ОГРН 1212400004838
Центральный офис: г. Красноярск, Академика Киренского, д.87, пом.4
Телефон: 8 (800) 777-65-74 Email: zakaz@partsell.ru
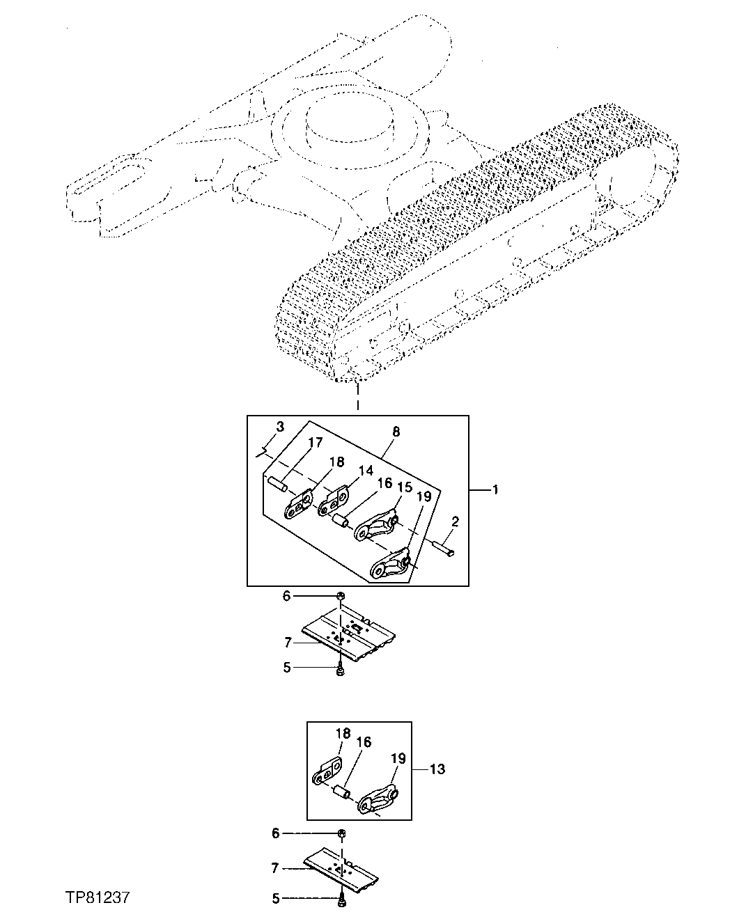
4 - TRACK
№
Артикул
Название
Примечание
Количество
1
AT110637
TRACK ASSEMBLY WITH SHOES
2шт.
2
T110224
MASTER TRACK PIN
3
T110017
COTTER PIN
5
T110018
BOLT
296шт.
6
T110019
NUT
7
T110823
OPEN CENTER 3 BAR SHOE
74шт.
8
T110956
TRACK CHAIN W/O SHOES
TRACK CHAIN ASSEMBLY, WITHOUT SHOES
13
T110957
ASSEMBLY
1шт.
14
T114087
NON-STRUTTED LINK-LH
(LEFT)
72шт.
15
T114088
NON-STRUTTED LINK-RH
(RIGHT)
16
T114089
BUSHING
17
T114090
PIN
18
T114091
MASTER TRACK LINK-LH
19
T114092
MASTER TRACK LINK-RH
Выбрано товаров: 0