Запчасти John Deere 0 2 - ROTARY MANIFOLD 260 - AXLES AND SUSPENSION SYSTEMS 2

Схема запчастей John Deere 0 - 2 - ROTARY MANIFOLD 260 - AXLES AND SUSPENSION SYSTEMS 2
FIT
1:1
100%

Артикул

Название

Примечание

Количество

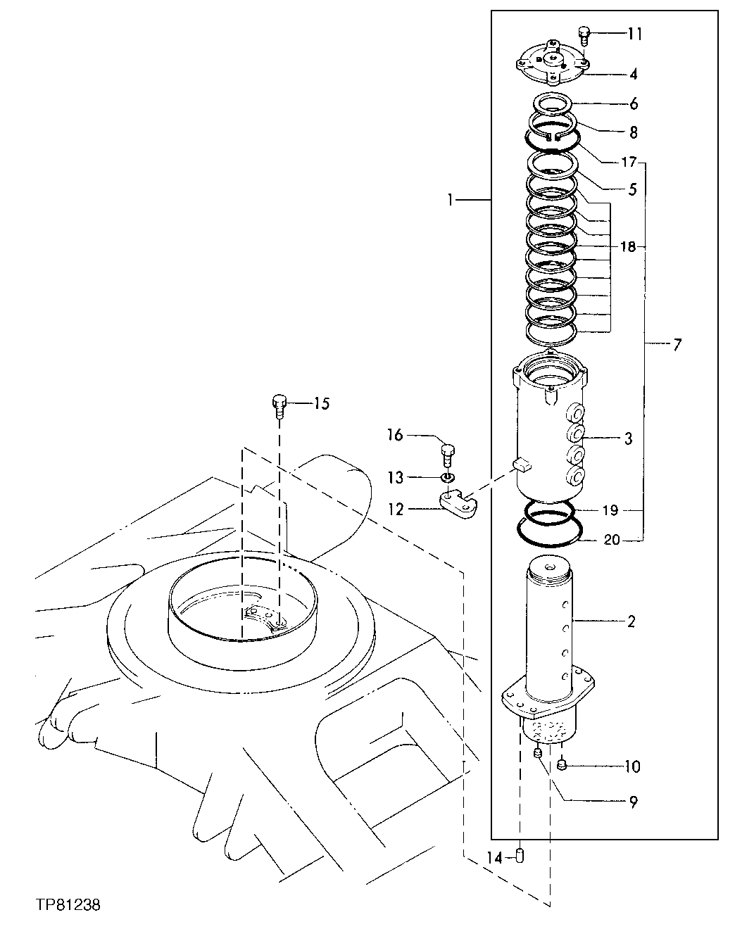
1

T110899

MANIFOLD

1шт.

2

MANIFOLD

( T110928 NO LONGER AVAILABLE)

1шт.

3

HUB

( T110929 NO LONGER AVAILABLE)

1шт.

4

T110192

COVER

1шт.

5

T110178

WASHER

1шт.

6

T110179

THRUST WASHER

1шт.

7

AT110083

SEAL KIT

1шт.

8

T110413

RING

1шт.

9

15H559

PIPE PLUG

1/4"

4шт.

10

15H666

PIPE PLUG

3/8"

4шт.

11

19M7402

CAP SCREW

M10 X 25

4шт.

12M7066

LOCK WASHER

10 MM

4шт.

12

T110181

STOP

1шт.

13

12M7068

LOCK WASHER

14 MM

2шт.

14

T110416

DOWEL PIN

2шт.

15

12M7058

LOCK WASHER

12 MM, (SUB FOR 12M7067)

4шт.

19M7268

CAP SCREW

M12 X 25

4шт.

16

T110930

BOLT

2шт.

17

T110435

O-RING

1шт.

18

T110180

SEAL

9шт.

19

CH17447

PACKING

1шт.

20

T110437

O-RING

1шт.

Выбрано товаров: 0