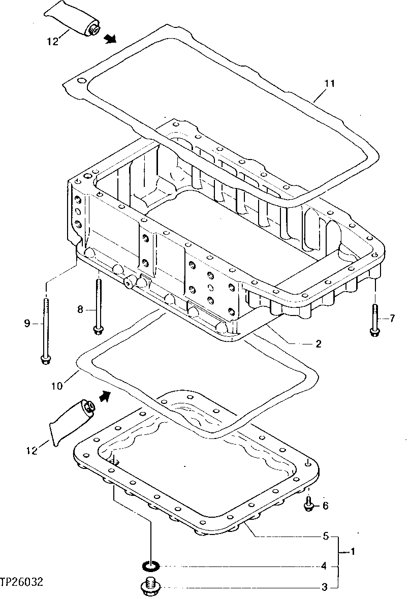
Запчасти John Deere 0 2 - ENGINE OIL PAN 407 - ENGINE 4

Схема запчастей John Deere 0 - 2 - ENGINE OIL PAN 407 - ENGINE 4
FIT
1:1
100%

Артикул

Название

Примечание

Количество

1

AT110865

OIL PAN

1шт.

2

T110642

HYDRAULIC RESERVOIR

1шт.

3

CH18267

DRAIN PLUG

1шт.

4

CH14634

O-RING

1шт.

5

COVER

(SUB AT110865)

1шт.

6

19M7867

SCREW

M8 X 25

20шт.

7

19M7800

SCREW

M8 X 50

8шт.

8

CH19093

BOLT

14шт.

9

T111562

BOLT

(SUB FOR CH16726)

4шт.

10

GASKET

(MAKE FROM M64850)

1шт.

11

GASKET

(MAKE FROM M64850)

1шт.

12

M64850

SEALANT

ARшт.

Выбрано товаров: 0