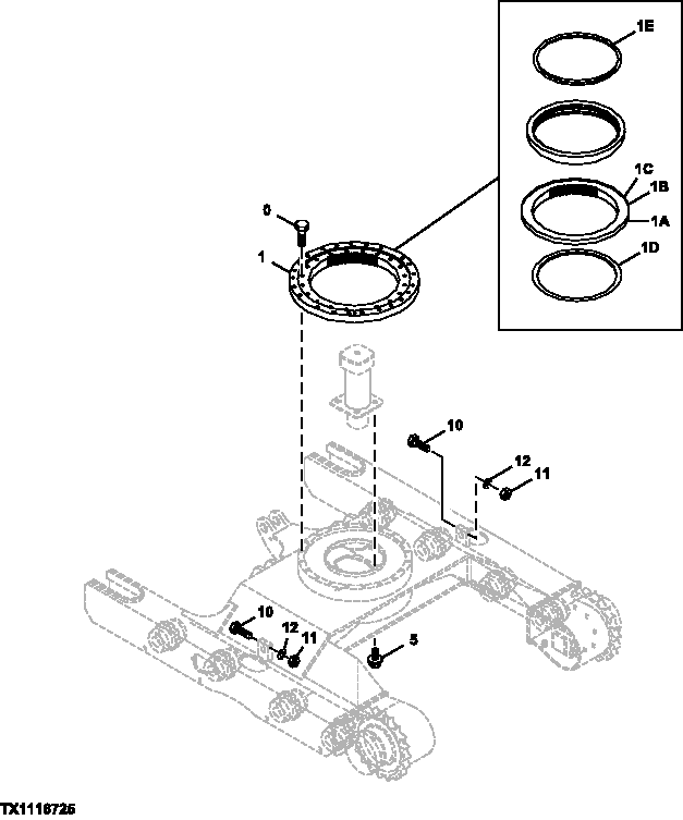
Запчасти John Deere 0C ZTS 207 - Swing Bearing and Mounting Hardware 4353 SWING BEARING & MOUNTING

Схема запчастей John Deere 0C ZTS - 207 - Swing Bearing and Mounting Hardware 4353 SWING BEARING & MOUNTING
FIT
1:1
100%

Артикул

Название

Примечание

Количество

0

19M8348

Cap Screw

M12 X 65

20шт.

1

4428010

Swing Bearing

1шт.

1A

Ball

( 4617125 NLA)

80шт.

1B

Spacer

( 4617126 NLA)

1шт.

1C

Spacer

( 4617065 NLA)

1шт.

1D

4617127

Seal

1шт.

1E

4617128

Seal

1шт.

5

19M7662

Cap Screw

M10 X 30

4шт.

12M7066

Lock Washer

10 mm

4шт.

10

19M4789

Cap Screw

M14 X 80

2шт.

11

14M7435

Nut

M14

2шт.

12

12M7068

Lock Washer

14 mm

2шт.

Выбрано товаров: 12