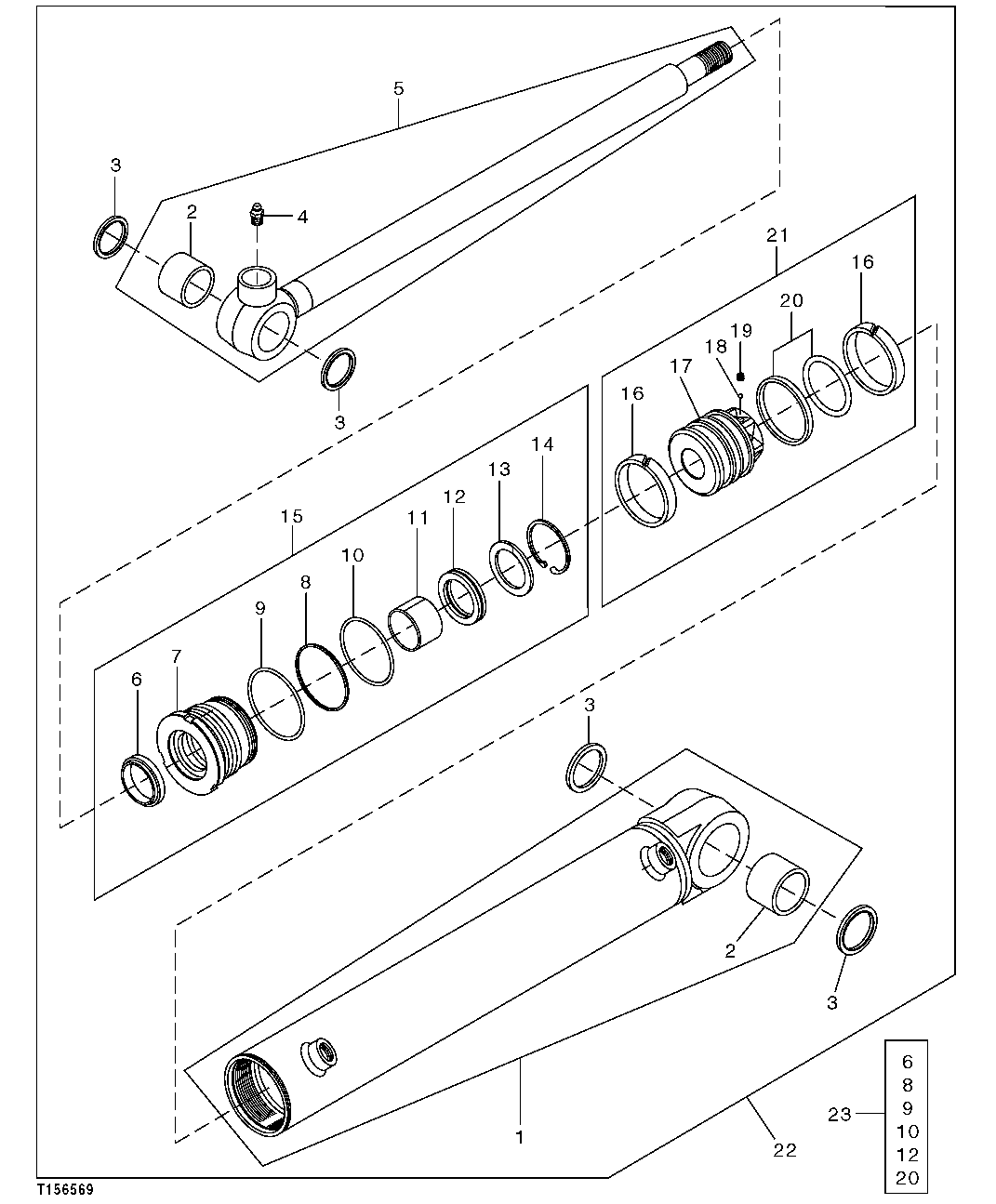
Запчасти John Deere 0C ZTS 208 - BOOM SWING CYLINDER (COMPONENTS) 4365 Cylinders

Схема запчастей John Deere 0C ZTS - 208 - BOOM SWING CYLINDER (COMPONENTS) 4365 Cylinders
FIT
1:1
100%

Артикул

Название

Примечание

Количество

1

0849601

Hydraulic Cylinder Barrel

1шт.

2

4332744

Bushing

2шт.

3

AT318033

Seal

SUB FOR 0478912 OR 4117955

4шт.

4

T116334

Lubrication Fitting

1шт.

5

0849602

Rod

1шт.

6

0682101

Ring

1шт.

7

0481601

Hydr. Cylinder Rod Guide

1шт.

8

AT264285

Sealing Ring

1шт.

9

4369925

O-Ring

SUB FOR 0694604 OR 4S00891

1шт.

10

CH17160

Packing

1шт.

11

0637901

Bushing

SUB FOR 0479002

1шт.

12

0405205

Packing

1шт.

13

0481602

Packing

1шт.

14

0481603

Snap Ring

1шт.

15

Hydr. Cylinder Rod Guide

0744302 NLA; 0847304 NLA; FURNISH COMPONENTS

1шт.

16

AT264287

Ring

SUB FOR AT200296

2шт.

17

0481604

Piston

1шт.

18

0431910

Ball

SUB FOR 0429917 OR AT203717

1шт.

19

0479012

Set Screw

1шт.

20

0478910

Seal

1шт.

21

Piston

TH0744806 AND 0744806 NLA

1шт.

22

4472586

Hydraulic Cylinder

1шт.

23

0729006

Hydraulic Cylinder Kit

1шт.

Выбрано товаров: 23