Запчасти John Deere 0C ZTS 30 - CYLINDER HEAD AND HEAD GASKET 0409 Cylinder Head and Valves

Схема запчастей John Deere 0C ZTS - 30 - CYLINDER HEAD AND HEAD GASKET 0409 Cylinder Head and Valves
FIT
1:1
100%

Артикул

Название

Примечание

Количество

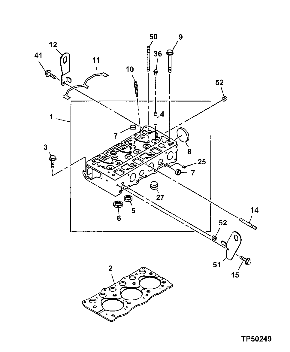
1

8971898344

Cylinder Head

(SUB FOR 8971898342 OR 8971898343)

1шт.

2

8972352650

Gasket

1шт.

3

Bolt

( 8944367840 NOT AVAILABLE)

4шт.

4

8972319690

Guide

(SUB FOR AT261427)

6шт.

5

8970453912

Valve Seat

INLET

3шт.

6

8970453920

Valve Seat Insert

EXHAUST (SUB FOR AT254896)

3шт.

7

8972096090

Seal

(SUB FOR AT256018)

4шт.

8

1096000581

Plug

(SUB FOR 1096000580)

1шт.

9

8970369591

Bolt

(SUB FOR AT254884)

8шт.

10

8970736411

Plug

3шт.

11

8972002140

Elec. Connector Terminal

1шт.

12

8970853900

Hanger

(SUB FOR AT254923)

1шт.

14

5093000650

Stud

2шт.

15

0280508160

Bolt

(SUB FOR AT259924 OR 0280808160)

1шт.

25

8972334290

Plug

4шт.

27

8970610221

Fitting Plug

(SUB FOR AT260014)

3шт.

36

8941105591

Seal

(SUB FOR AT254842)

6шт.

41

0280508160

Bolt

(SUB FOR AT259924 OR 0280808160)

1шт.

50

8970946411

Stud

(SUB FOR AT254925)

5шт.

51

8970853890

Hanger

(SUB FOR AT254922)

1шт.

52

5096050050

Pipe Plug

(SUB FOR AT254825)

2шт.

Выбрано товаров: 21