Запчасти John Deere 0C ZTS 42 - ALTERNATOR COMPONENTS 0423 Alternator And Generator Mounting

Схема запчастей John Deere 0C ZTS - 42 - ALTERNATOR COMPONENTS 0423 Alternator And Generator Mounting
FIT
1:1
100%

Артикул

Название

Примечание

Количество

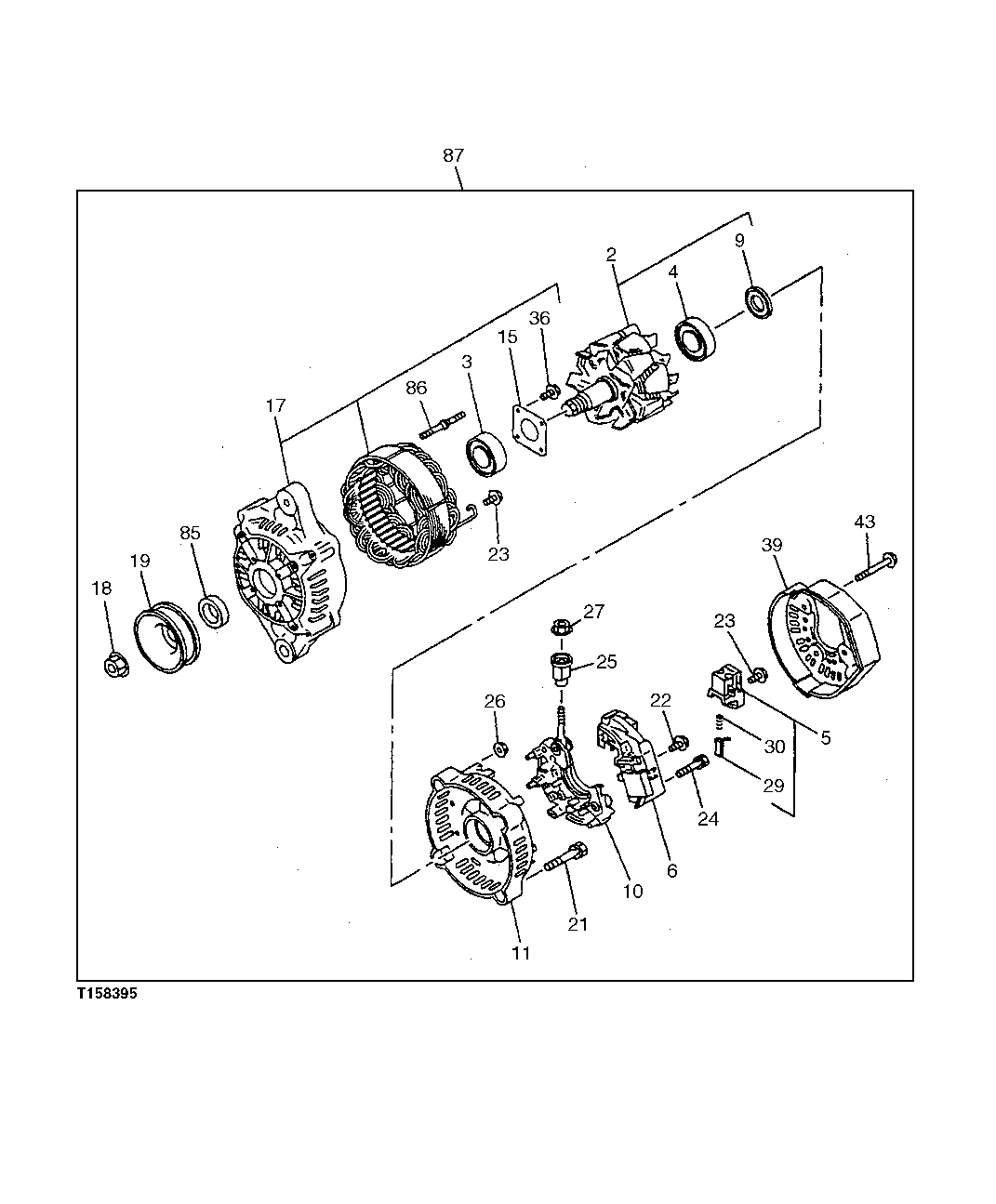
2

Rotor

( 89707728380 NOT FOR SERVICE)

1шт.

3

8970728380

Bearing

1шт.

4

8941357530

Bearing

1шт.

5

8970404940

Holder

1шт.

6

8971227970

Regulator

(SUB FOR 8970463390 OR 8944551600)

1шт.

9

8941230510

Cover

1шт.

10

Rectifier

1шт.

11

8970728410

Cover

1шт.

15

8944551540

Retainer

1шт.

17

8972269070

Cover

1шт.

18

8970728350

Nut

1шт.

19

8972253340

Pulley

1шт.

21

8944551640

Bolt

1шт.

22

8944551620

Screw

1шт.

23

Cap Screw

( 8944551610 NOT FOR SERVICE)

6шт.

24

8941230610

Screw

2шт.

25

8944654030

Bushing

1шт.

26

8941230640

Nut

2шт.

27

8942061860

Nut

1шт.

29

Brush

2шт.

30

8941230570

Spring

2шт.

36

8970728390

Screw

4шт.

39

Cover

( 89707728430 NOT FOR SERVICE)

1шт.

43

8944551630

Screw

3шт.

85

8970728360

Spacer

1шт.

86

8944551560

Bolt

2шт.

87

8972251170

Alternator

1шт.

Выбрано товаров: 27