Запчасти John Deere 0ZTS 69 - ELECTRIC PARTS 1674 Wiring Harness And Switches

Схема запчастей John Deere 0ZTS - 69 - ELECTRIC PARTS 1674 Wiring Harness And Switches
FIT
1:1
100%

Артикул

Название

Примечание

Количество

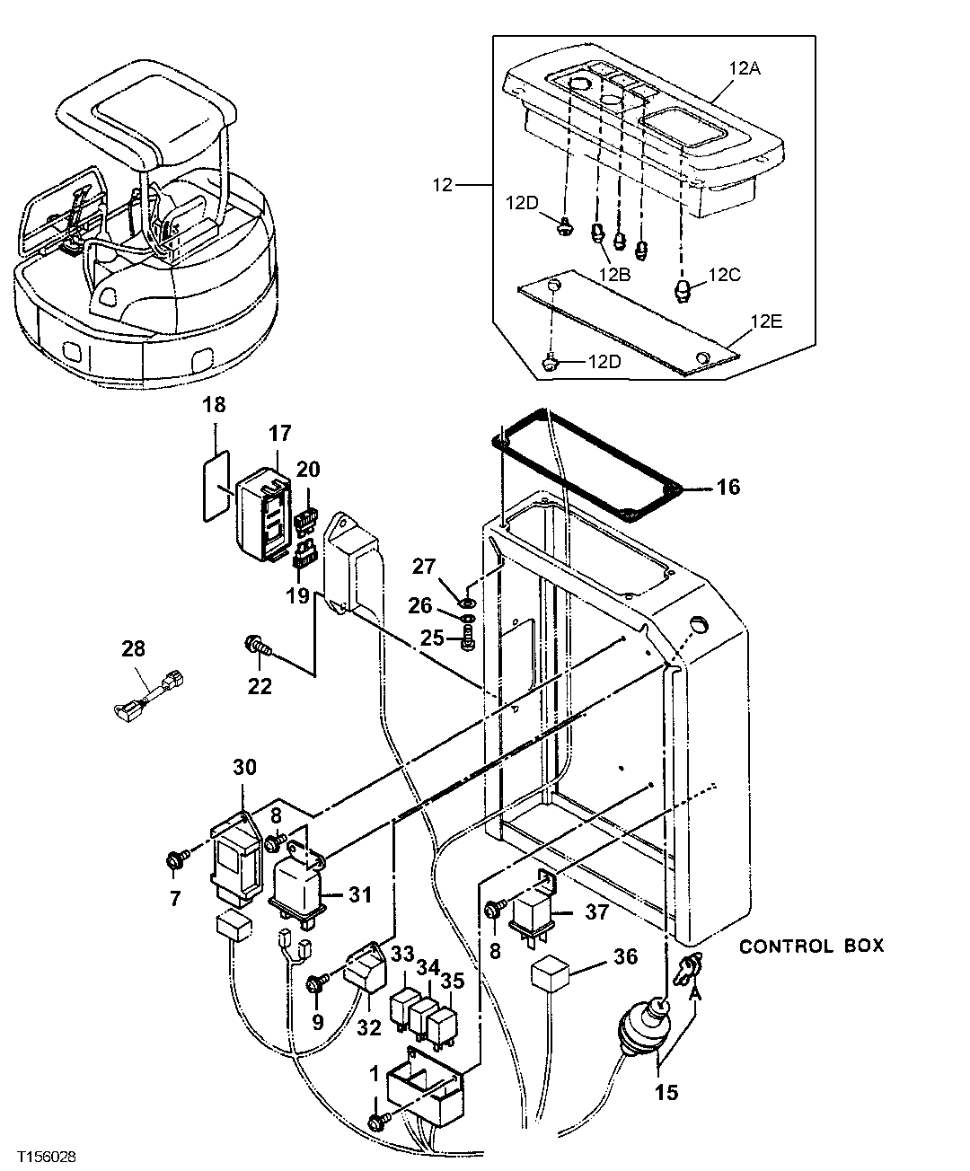
1

21M7265

Screw

M5 X 12

2шт.

24M7054

Washer

6.400 X 12 X 1.600 mm

2шт.

12M7064

Lock Washer

5 mm

2шт.

7

J680620

Screw With Washer

(SUB FOR AT213611)

1шт.

8

21M7285

Screw

M6 X 12

3шт.

12M7006

Lock Washer

6 mm

3шт.

9

21M7246

Screw

M6 X 16

1шт.

12M7006

Lock Washer

6 mm

1шт.

24M7105

Washer

6 X 12 X 1.600 mm

1шт.

12

Instrument Panel

( 4403739 NLA) (SUB FOR AT251442) (SUB 9237341)

1шт.

9237341

Panel

(INCLUDES 4629671)

1шт.

4629671

Seal

Not Illustrated

1шт.

12A

4449185

Cover

1шт.

12B

4449186

Bulb

1шт.

12C

4449187

Bulb

1шт.

12D

4449188

Screw

1шт.

12E

4449189

Cover

1шт.

15

4478870

Rotary Switch

(SUB FOR AT255962 OR 4432734)

1шт.

15A

AT194969

Key

Set of Two Keys (SUB FOR AT147803)

1шт.

16

4413919

Gasket

(SUB FOR AT251501)

1шт.

17

4348188

Cover

(SUB FOR AT251245)

1шт.

18

4389540

Label

(SUB FOR AT251320)

1шт.

19

99M7065

Fuse

1шт.

20

57M7120

Fuse

1шт.

22

19M7077

Cap Screw

M6 X 20

2шт.

24M7267

Washer

6.400 X 11 X 1.600 mm

2шт.

12M7006

Lock Washer

6 mm

2шт.

25

21M7285

Screw

M6 X 12

4шт.

26

12M7006

Lock Washer

6 mm

4шт.

27

12M7054

Lock Washer

19 mm

4шт.

28

8944299470

Relay

Starter (SUB FOR AT254838)

1шт.

30

4355586

Timer

Glow Plug (SUB FOR AT251270)

1шт.

31

8944001061

Relay

Glow (SUB FOR AT251269) ( 4355584 NA)

1шт.

32

4355587

Relay

Starter 2 (SUB FOR AT251271)

1шт.

33

4657417

Relay

Work Light (SUB FOR AT251370 OR 4394590)

1шт.

34

4657417

Relay

Horn (SUB FOR AT251370 OR 4394590)

1шт.

35

4657417

Relay

Pilot Shutoff (SUB FOR AT251370 OR 4394590)

1шт.

36

4657417

Relay

Propel Alarm (SUB FOR AT251370 OR 4394590)

1шт.

37

4288451

Relay

Starter 1 (SUB FOR AT251204)

1шт.

Выбрано товаров: 39