Запчасти John Deere 0ZTS 80 - Cab Components 1810 Operator Enclosure

Схема запчастей John Deere 0ZTS - 80 - Cab Components 1810 Operator Enclosure
FIT
1:1
100%

Артикул

Название

Примечание

Количество

0

9203820

Cab

SUB FOR 4454007, NOT ILLUSTRATED, CONTAINS ALL ITEMS ON THIS PAGE - ADDITIONAL COMPON ENTS LISTED ON PREVIOUS AND FOLLOWING PAGES

1шт.

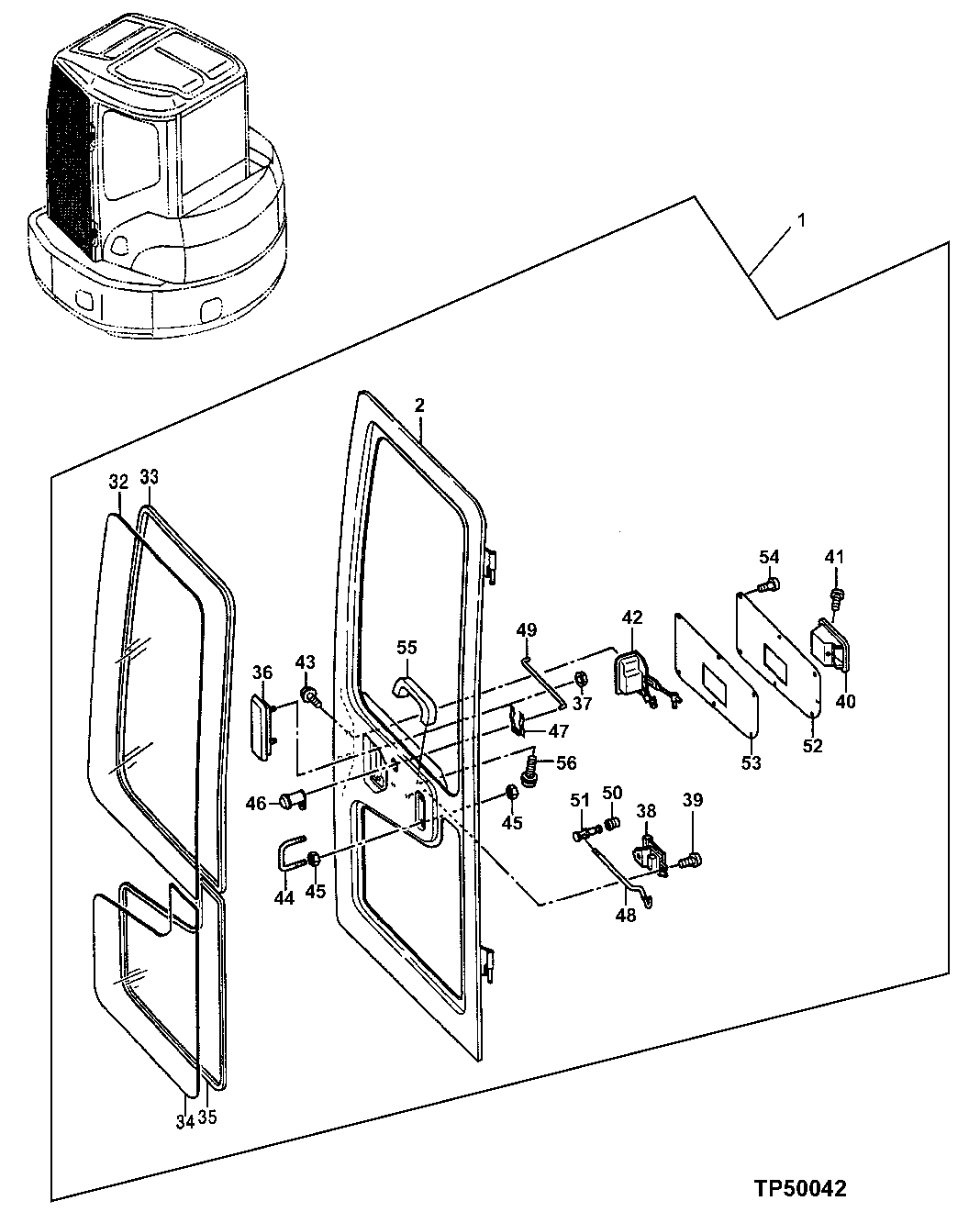
1

4424663

Door

SUB FOR AT252076

1шт.

2

Door

NOT AVAILABLE FOR SERVICE

1шт.

32

4424678

Windowpane

SUB FOR AT252085

1шт.

33

4424755

Isolator

SUB FOR AT252135

1шт.

34

4424679

Windowpane

SUB FOR AT252086

1шт.

35

4424756

Weatherstrip

SUB FOR AT252136

1шт.

36

4348015

Handle

SUB FOR AT252066

1шт.

37

4424765

Nut

SUB FOR AT252140

2шт.

38

4348016

Handle

SUB FOR AT252067

1шт.

39

4424766

Cap Screw

SUB FOR AT252141

2шт.

40

4348017

Cover

SUB FOR AT252068

1шт.

41

4424767

Bolt

SUB FOR TH4424767

1шт.

42

4348014

Latch

SUB FOR AT252065

1шт.

43

19M9045

Screw

M6 X 16 SUB FOR TH4380970 OR 4380970

3шт.

44

4424729

Striker

SUB FOR AT252120

1шт.

45

14M7274

Nut

M10

4шт.

46

4628484

Lock

ALSO ORDER FYD00007042, SU B FOR 4424730 AND AT252121

1шт.

47

4383636

Retainer

SUB FOR AT258356

1шт.

48

4424731

Rod

SUB FOR AT252122

1шт.

49

4424732

Rod

SUB FOR AT252123

1шт.

50

4385902

Holder

SUB FOR AT252074

1шт.

51

4348028

Pin

SUB FOR AT252070

1шт.

52

4424733

Cover

SUB FOR AT258409

1шт.

53

4424734

Isolator

SUB FOR AT252124

1шт.

54

4383700

Bolt

SUB FOR TH4383700

6шт.

55

4348027

Handle

SUB FOR AT252069

1шт.

56

19M8425

Cap Screw

M6 X 16 SUB FOR TH4380957, 43809 57, J090616, J020616 OR TH111223

2шт.

12M7006

Lock Washer

6 mm

2шт.

24M7054

Washer

6.400 X 12 X 1.600 mm

2шт.

Выбрано товаров: 30