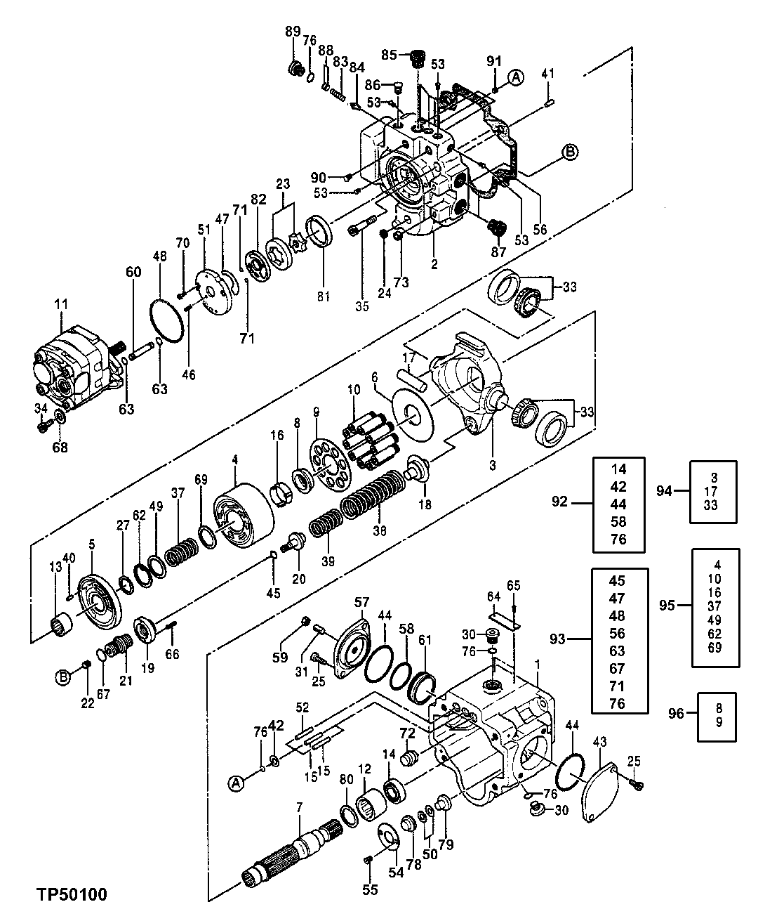
Запчасти John Deere 0ZTS 107 - Main Hydraulic Pump Components 2160 Vehicle Hydraulics

Схема запчастей John Deere 0ZTS - 107 - Main Hydraulic Pump Components 2160 Vehicle Hydraulics
FIT
1:1
100%

Артикул

Название

Примечание

Количество

0

4403501

Hydraulic Pump

(SUB FOR AT255948)(NOT ILLUSTRATED) (CO NTAINS ALL ITEMS ON THIS PAGE - ADDITION AL COMPONENTS LISTED ON FOLLOWING PAGE)

1шт.

1

Case

1шт.

2

Housing

1шт.

3

End Plate

1шт.

4

Sway Block

1шт.

5

0654101

Flow Control Hyd. Valve

(SUB FOR AT251804)

1шт.

6

0654102

Plate

(SUB FOR AT251805)

1шт.

7

0654103

Shaft

(SUB FOR AT251806)

1шт.

8

Holder

1шт.

9

Plate

1шт.

10

Piston

10шт.

11

0735001

Hydraulic Pump

(SUB FOR AT255924)

1шт.

12

AT127313

Needle Bearing

1шт.

13

0654105

Needle Bearing

(SUB FOR AT251807)

1шт.

14

0654106

Seal

(SUB FOR AT251808)

1шт.

15

0654107

Pin

(SUB FOR AT251809)

2шт.

16

Pin

3шт.

17

Pin

1шт.

18

0654108

Retainer

(SUB FOR AT251810)

1шт.

19

0654109

Retainer

(SUB FOR AT251811)

1шт.

20

0654110

Retainer

(SUB FOR AT251812)

1шт.

21

0654111

Screw

(SUB FOR AT251813)

1шт.

22

0654112

Set Screw

(SUB FOR AT251814)

1шт.

23

0654113

Rotor

(SUB FOR AT251815)

1шт.

24

Nut

1шт.

25

Bolt

1шт.

27

0654116

Thrust Washer

(SUB FOR AT251816)

1шт.

30

0436608

Fitting Plug

(SUB FOR AT218054)

2шт.

31

0654117

Set Screw

(SUB FOR AT251817)

1шт.

33

Bearing

2шт.

34

Bolt

2шт.

35

0667714

Screw

(SUB FOR AT213661)

4шт.

37

Spring

1шт.

38

0654119

Spring

(SUB FOR AT251818)

1шт.

39

0654120

Spring

(SUB FOR AT251819)

1шт.

40

0654121

Dowel Pin

(SUB FOR AT251820)

1шт.

41

0396814

Pin

(SUB FOR AT218049)

2шт.

42

0654137

Back-Up Ring

(SUB FOR AT251835)

3шт.

43

0654122

Cover

(SUB FOR AT251821)

1шт.

44

CH14671

Packing

2шт.

45

4506408

O-Ring

7.800 X 1.900 mm (0.307" X 0.075") (SUB FOR TH101490)

1шт.

46

4116303

Spring Pin

(SUB FOR AT251966)

1шт.

47

0731706

O-Ring

(SUB FOR AT251920)

1шт.

48

AT264419

O-Ring

(SUB FOR U46456 OR A810085)

1шт.

49

Holder

1шт.

50

0654138

Spring

(SUB FOR AT251836)

2шт.

51

0654124

Cover

(SUB FOR AT251822)

1шт.

52

0654125

Pin

(SUB FOR AT251823)

1шт.

53

Plug

6шт.

54

0654139

Cover

(SUB FOR AT251837)

1шт.

55

0434509

Cap Screw

(SUB FOR TH0434509)

2шт.

56

0654126

Gasket

(SUB FOR AT251824)

1шт.

57

0654140

Cover

(SUB FOR AT251838)

1шт.

58

CH11436

O-Ring

1шт.

59

Nut

1шт.

60

0654142

Sleeve

(SUB FOR AT251839)

1шт.

61

0654127

Bushing

(SUB FOR AT251825)

1шт.

62

Ring

1шт.

63

4506406

O-Ring

5.800 X 1.900 mm (0.228" X 0.075") (SUB FOR TH104587)

2шт.

64

Plate

1шт.

Выбрано товаров: 0