Запчасти John Deere 0ZTS 134 - Auger Planetary Drive (Pa30) 3302 BUCKETS, TEETH, SHANKS AND SIDECUTTERS

Схема запчастей John Deere 0ZTS - 134 - Auger Planetary Drive (Pa30) 3302 BUCKETS, TEETH, SHANKS AND SIDECUTTERS
FIT
1:1
100%

Артикул

Название

Примечание

Количество

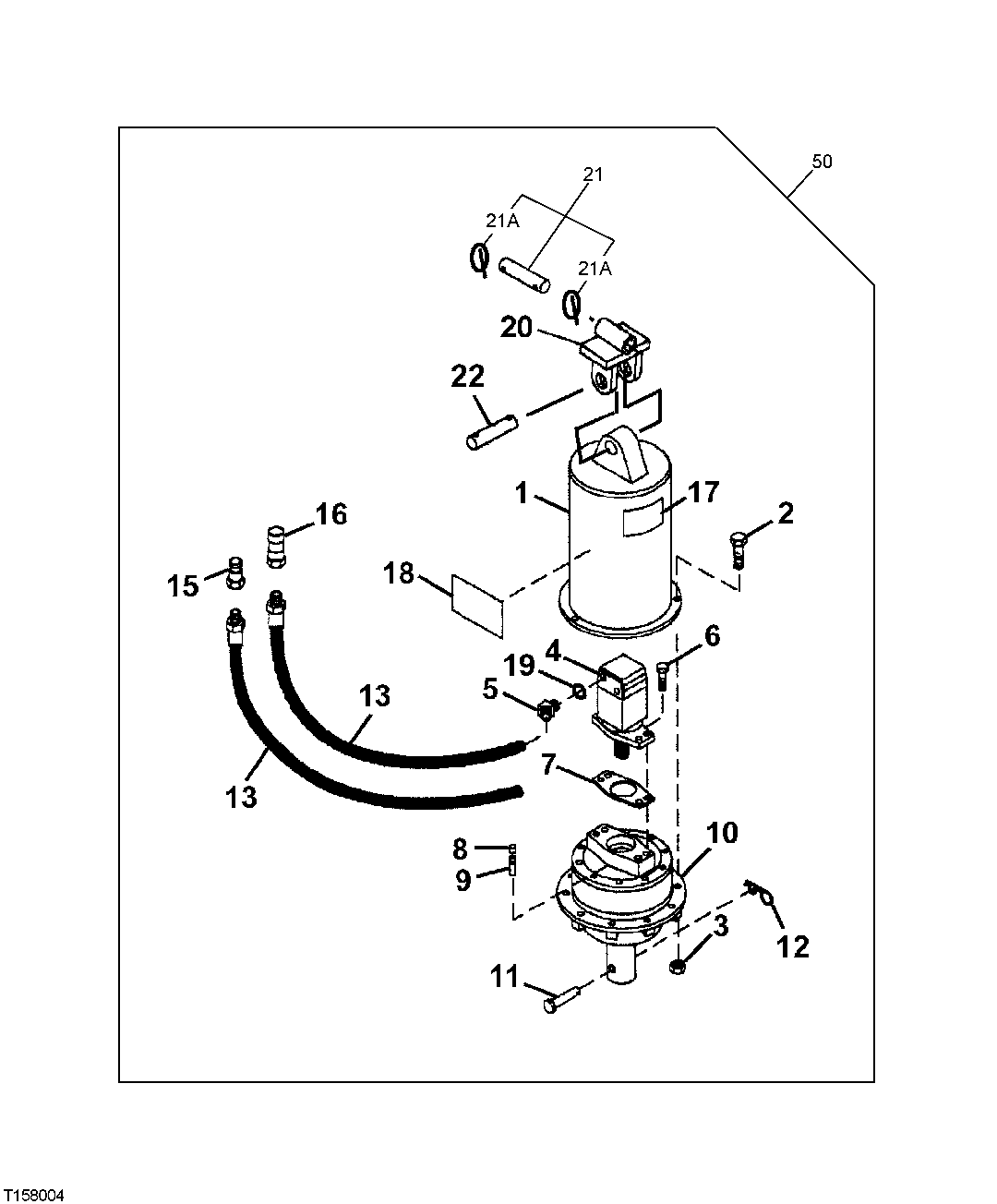
1

KV16004

Housing

1шт.

2

19H3638

Cap Screw

9/16" X 1-1/2" (SUB FOR 19H2355)

3шт.

3

T69760

Lock Nut

14.275 mm (9/16")

3шт.

4

KV15981

Motor

(COMPONENTS LISTED ON ANOTHER PAGE)

1шт.

5

AT32338

Fitting

2шт.

6

19H2993

Cap Screw

1/2" X 1-1/2" (SUB FOR 19H1721)

4шт.

7

KV16010

Gasket

1шт.

8

KV16012

Breather

1шт.

9

KV16011

Spool Valve

1шт.

10

KV16005

Crankcase

(COMPONENTS LISTED ON ANOTHER PAGE)

1шт.

11

KV18463

Pin

1шт.

12

M72598

Quick Lock Pin

1шт.

13

AT189443

Hydraulic Hose

2шт.

15

M131863

Hydr. Quick Coupler Plug

MALE

1шт.

16

M131862

Hyd. Quick-Connect Coupler

FEMALE

1шт.

17

KV16014

Label

DANGER

1шт.

18

T211965

Label

WORKSITE PRO (SUB FOR KV22123 OR KV15800)

1шт.

19

R26906

O-Ring

2шт.

20

AT191249

Bracket

1шт.

21

AT191250

Pin

1шт.

21A

T184980

Pin

2шт.

22

AT191248

Pin

1шт.

50

Auger

(WHOLEGOODS) ( AT189211 NLA)

1шт.

Выбрано товаров: 23