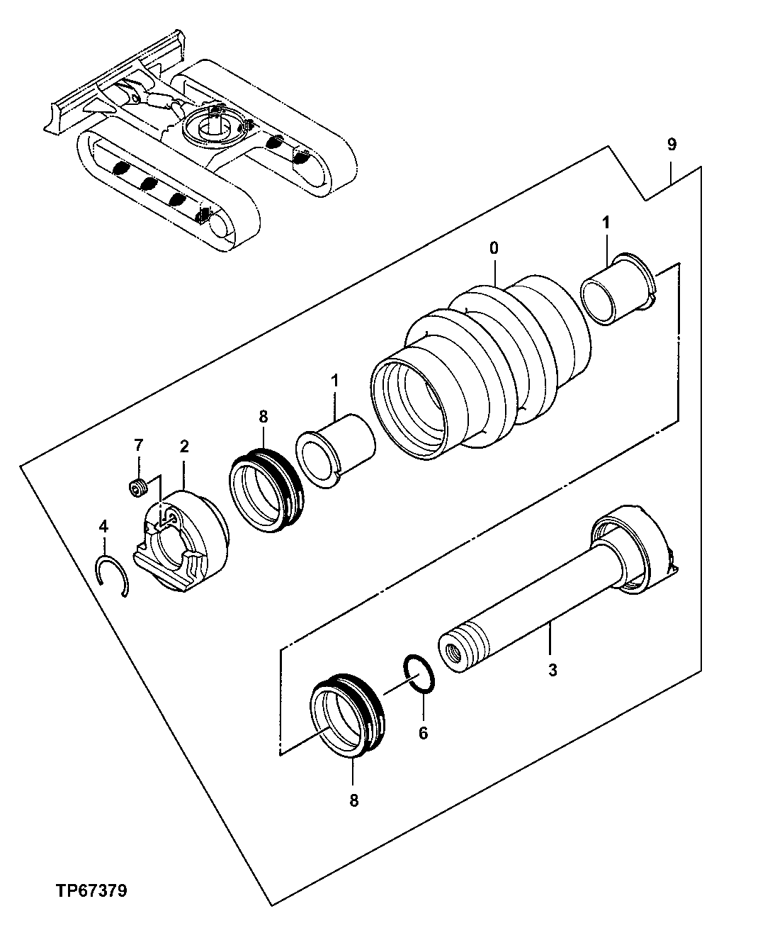
Запчасти John Deere 0ZTS 5 - Lower Roller 0130 Track Systems

Схема запчастей John Deere 0ZTS - 5 - Lower Roller 0130 Track Systems
FIT
1:1
100%

Артикул

Название

Примечание

Количество

0

Bottom Roller

(NOT AVAILABLE AS INDIVIDUAL SERVICE PART)

1шт.

1

3048155

Bushing

(SUB FOR AT251123)

2шт.

2

Bushing

(NOT AVAILABLE AS INDIVIDUAL SERVICE PART)

1шт.

3

Assembly Line Parts

(NOT AVAILABLE AS INDIVIDUAL SERVICE PART)

1шт.

4

4285035

Snap Ring

(SUB FOR AT251197)

1шт.

6

A810030

O-Ring

(SUB FOR U46167)

1шт.

7

94-2010

Fitting Plug

(SUB FOR TH100689)

1шт.

8

4243325

Seal

(SUB FOR AT251173)

2шт.

9

4357785

Roller

ASSEMBLY (SUB FOR AT251282)

1шт.

Выбрано товаров: 9