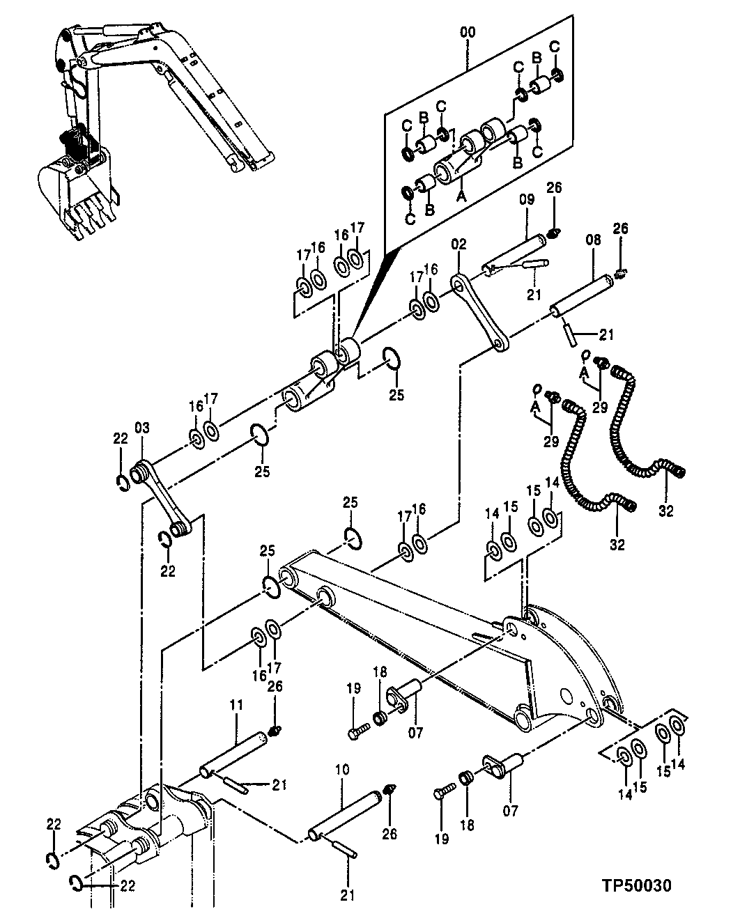
Запчасти John Deere 0ZTS 153 - ARM SUPPORT 3340 BACKHOE AND EXCAVATOR FRAMES

Схема запчастей John Deere 0ZTS - 153 - ARM SUPPORT 3340 BACKHOE AND EXCAVATOR FRAMES
FIT
1:1
100%

Артикул

Название

Примечание

Количество

0

8063124G

Link

(SUB FOR AT251563, 8063124)

1шт.

0A

Link

(NOT AVAILABLE)

1шт.

0B

4340369

Bushing

(SUB FOR AT251239)

4шт.

0C

AT318033

Seal

(SUB FOR 4117955, AT251242, 4347251)

6шт.

2

4408804G

Link

(SUB FOR AT251256, 4408804)

1шт.

3

8073935G

Link

(SUB FOR AT251564, 8073935)

1шт.

7

9744912

Pin Fastener

(SUB FOR AT251631)

2шт.

8

3073147

Pin Fastener

(SUB FOR AT251130)

1шт.

9

3073148

Pin Fastener

(SUB FOR AT251131)

1шт.

10

3073149

Pin Fastener

(SUB FOR AT251132)

1шт.

11

3073150

Pin Fastener

(SUB FOR AT251133)

1шт.

14

4334146

Shim

(SUB FOR AT251235)

4шт.

15

4359695

Shim

(SUB FOR AT251284)

4шт.

16

4354256

Shim

(SUB FOR AT251259)

6шт.

17

4354258

Shim

(SUB FOR AT251261)

6шт.

18

4339355

Bushing

(SUB FOR AT251237)

2шт.

19

19M6332

Cap Screw

M14 X 35

2шт.

21

4141001

Pin

16 X 62 mm (0.630" X 2. 441") (SUB FOR TH106053)

4шт.

22

4141000

Ring

(SUB FOR TH106052)

4шт.

25

4291436

O-Ring

(SUB FOR AT251208)

4шт.

26

TH100074

Lubrication Fitting

4шт.

29

4042031

Adapter Fitting

(SUB FOR TH103891)

2шт.

29A

CH11570

O-Ring

13.800 X 2.400 mm (0.543" X 3/32")

1шт.

32

4426462

Hydraulic Hose

(SUB FOR AT251707)

2шт.

Выбрано товаров: 24