Запчасти John Deere 0ZTS 7 - TRACK CHAIN 0130 Track Systems

Схема запчастей John Deere 0ZTS - 7 - TRACK CHAIN 0130 Track Systems
FIT
1:1
100%

Артикул

Название

Примечание

Количество

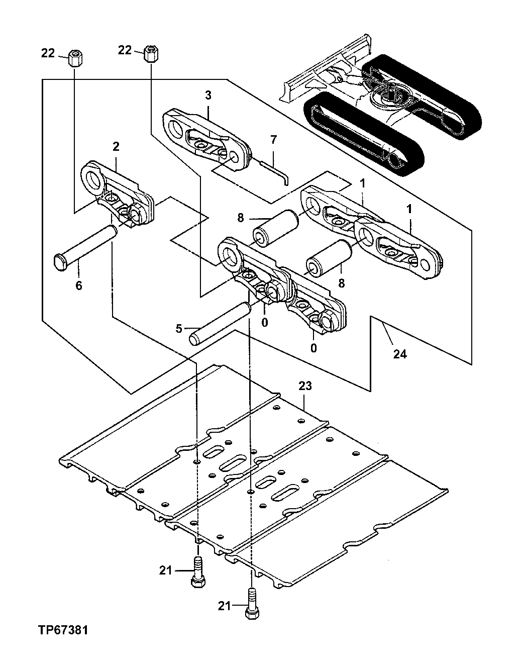
0

1013767

Track Link

(SUB FOR AT251112)

37шт.

1

1013766

Track Link

(SUB FOR AT251111)

37шт.

2

3046601

Master Track LINK-LH

(SUB FOR AT251121)

1шт.

3

3046600

Master Track LINK-RH

(SUB FOR AT251120)

1шт.

5

4243515

Track Pin

(SUB FOR AT251174)

37шт.

6

3046602

Master Track Pin

(SUB FOR AT251122)

1шт.

7

4243516

Retainer

(SUB FOR AT251175)

1шт.

8

4265825

Track Bushing

(SUB FOR AT251178)

38шт.

21

4243587

Track Bolt

(SUB FOR AT255926)

152шт.

22

4243588

Nut

(SUB FOR AT255927)

152шт.

23

2036381

Triple Bar Shoe

(SUB FOR AT251115)

38шт.

24

9087953

Track Chain W/O Shoes

(SUB FOR AT251611)

1шт.

Выбрано товаров: 12