Запчасти John Deere 0ZTS 176 - BUCKET AND INLECT SECTION CONTROL VALVE 3360 HYDRAULIC SYSTEM

Схема запчастей John Deere 0ZTS - 176 - BUCKET AND INLECT SECTION CONTROL VALVE 3360 HYDRAULIC SYSTEM
FIT
1:1
100%

Артикул

Название

Примечание

Количество

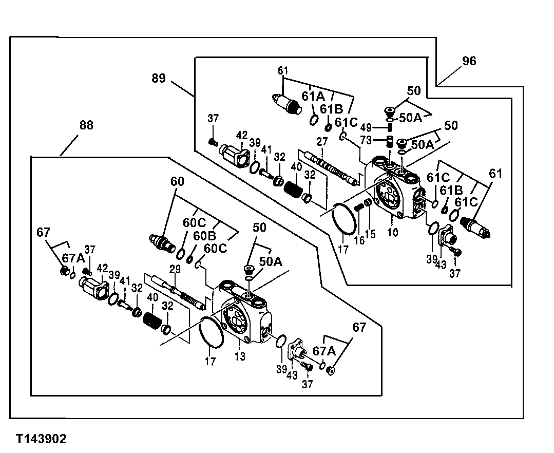
10

Housing

1шт.

13

Housing

1шт.

15

0433501

Check Valve

SUB FOR AT251744

1шт.

16

0433502

Spring

SUB FOR AT251745

1шт.

17

0433401

O-Ring

SUB FOR AT251734

2шт.

27

Spool

1шт.

29

Spool

1шт.

32

0433407

Guide

SUB FOR AT251736

4шт.

37

19M8627

Screw

M6 X 20 SUB FOR TH0432911

ARшт.

39

0433411

O-Ring

SUB FOR AT251738

4шт.

40

0476305

Spring

SUB FOR AT251758

2шт.

41

0433413

Cap Screw

SUB FOR AT251739

2шт.

42

0433414

Cover

SUB FOR AT251740

2шт.

43

0433415

Cover

SUB FOR AT251741

2шт.

49

0433417

Spring

SUB FOR AT251742

1шт.

50

0664404

Fitting Plug

SUB FOR AT251904

3шт.

50A

CH11570

O-Ring

13.800 X 2.400 mm (0.543" X 3/32")

1шт.

60

Pressure Relief Valve

0734101 NLA

1шт.

60A

0976602

O-Ring

SUB FOR TH103574 OR AT264354 OR 4S00734

1шт.

60B

0433513

Back-Up Ring

SUB FOR AT251748

1шт.

60C

0637402

O-Ring

SUB FOR AT251797

1шт.

61

4384555

Flow Control Hyd. Valve

SUB FOR AT251973

2шт.

61A

0976602

O-Ring

SUB FOR TH103574 OR AT264354 OR 4S00734

1шт.

61B

0433513

Back-Up Ring

SUB FOR AT251748

1шт.

61C

0637402

O-Ring

SUB FOR AT251797

1шт.

67

0432918

Fitting Plug

SUB FOR AT251729

2шт.

67A

M800650

Packing

1шт.

73

0681602

Check Valve

SUB FOR AT251915

1шт.

88

0734105

Hyd Actuated Control Valve

INLET SECTION SUB FOR AT251932

1шт.

89

0734106

Hyd Actuated Control Valve

BUCKET (SUB FOR AT251933)

1шт.

96

Hyd Actuated Control Valve

( 4427490 NO LONGER AVAILABLE) (CONTAINS A LL ITEMS ON THIS PAGE - ADDITIONAL COMPONEN TS LISTED ON PREVIOUS AND FOLLOWING PAGES)

1шт.

Hyd Actuated Control Valve

( 4447586 NO LONGER AVAILABLE) (CONTAINS A LL ITEMS ON THIS PAGE - ADDITIONAL COMPONEN TS LISTED ON PREVIOUS AND FOLLOWING PAGES)

1шт.

Выбрано товаров: 32