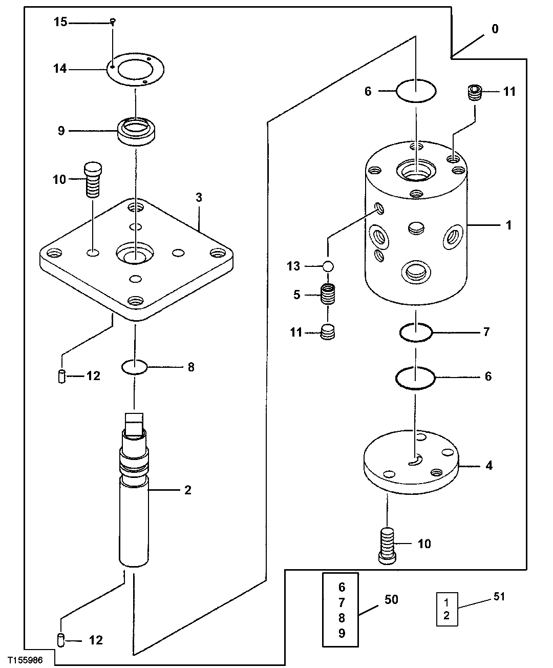
Запчасти John Deere 0ZTS 202 - TWO WAY MULTI-LEVER ROTARY VALVE 3360 HYDRAULIC SYSTEM

Схема запчастей John Deere 0ZTS - 202 - TWO WAY MULTI-LEVER ROTARY VALVE 3360 HYDRAULIC SYSTEM
FIT
1:1
100%

Артикул

Название

Примечание

Количество

0

4460294

Flow Control Hyd. Valve

(SUB FOR AT258398 ) (SUB FOR TH4460294)

1шт.

1

Housing

1шт.

2

Shaft

1шт.

3

4449852

Flange

1шт.

4

4449853

Cover

1шт.

5

4449854

Spring

1шт.

6

955020

O-Ring

(K) (SUB FOR TH111628, 4006683)

2шт.

7

AT318035

O-Ring

(K) (SUB FOR 4506424, TH100055)

1шт.

8

CH12329

Packing

(K)

1шт.

9

4438238

Seal

(K) (SUB FOR TH4438238)

1шт.

10

19M8439

Screw

M8 X 25

7шт.

11

94-2010

Fitting Plug

(SUB FOR TH100689)

9шт.

12

4051267

Spring Pin

(SUB FOR TH4051267)

2шт.

13

4438358

Ball

(SUB FOR TH4438358)

1шт.

14

Identification Plate

1шт.

15

Screw

3шт.

50

4438359

Seal Kit

(SUB FOR TH4438359)(CONT AINS ALL PARTS MARKED K)

1шт.

51

4449856

Flow Control Hyd. Valve

1шт.

Выбрано товаров: 18