Запчасти John Deere 0ZTS 26 - Cylinder Block 0404 Cylinder Block

Схема запчастей John Deere 0ZTS - 26 - Cylinder Block 0404 Cylinder Block
FIT
1:1
100%

Артикул

Название

Примечание

Количество

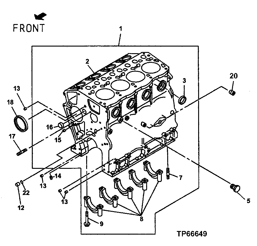
1

8971826972

Cylinder Block

(SUB FOR AT254977)(ADDITIONAL CO MPONENTS SHOWN ON FOLLOWING PAGE)

1шт.

2

Cylinder Block

(NOT AVAILABLE)(SUB 8971826972)

1шт.

3

8942298530

Plug

(SUB FOR AT254851)

5шт.

5

9096640010

Fitting Plug

(SUB FOR AT255028)

1шт.

7

8972621481

Stud

(SUB FOR AT254862)

ARшт.

8

Cap

ARшт.

9

8941674701

Bolt

(SUB FOR AT259967)

ARшт.

12

1096000122

Plug

(SUB FOR AT254809 OR 1096000121)

1шт.

13

9112290581

Dowel Pin

(SUB FOR AT255033)

4шт.

14

AT254810

Fitting Plug

1шт.

15

5096000130

Plug

(SUB FOR AT255032 ) (SUB FOR AT254823)

4шт.

16

Plug

1шт.

17

8972621451

Stud

(SUB FOR AT255007)

1шт.

18

8970470560

Needle Bearing

(SUB FOR AT254902)

1шт.

20

1096050190

Pipe Plug

(SUB FOR AT254811)

1шт.

22

Seal

1шт.

Выбрано товаров: 16