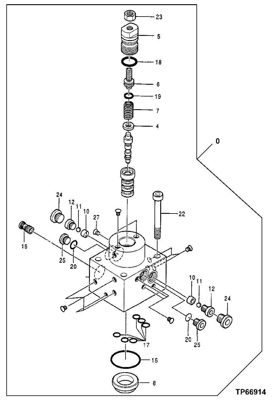
Запчасти John Deere 50LC 113 - Regulator Cover: Travel Motor 2160 Vehicle Hydraulics

Схема запчастей John Deere 50LC - 113 - Regulator Cover: Travel Motor 2160 Vehicle Hydraulics
FIT
1:1
100%

Артикул

Название

Примечание

Количество

0

4354807

Regulator

SUB FOR TH4354807

1шт.

4

0645501

Semi-Finished Metal

SUB FOR TH0645501

1шт.

5

0645502

Guide

SUB FOR TH0645502

1шт.

6

0385806

Screw

SUB FOR AT200167

2шт.

7

0645503

Spring

SUB FOR TH0645503

1шт.

8

0645504

Retainer

SUB FOR TH0645504

1шт.

10

0349808

Guide

SUB FOR AT132195

2шт.

11

0349809

Ball

SUB FOR AT132196

2шт.

12

0349810

Plug

SUB FOR AT132197

2шт.

15

0626204

Filter

SUB FOR TH0626204

1шт.

16

0349906

O-Ring

SUB FOR AT132209 AND 4S00062

1шт.

17

0645505

O-Ring

SUB FOR TH0645505 OR 4S00056

6шт.

18

AT318035

O-Ring

SUB FOR 4506424 OR TH100055

1шт.

19

R394R

O-Ring

12.370 X 2.616 mm (0.487" X 0.103")

1шт.

20

M800650

Packing

2шт.

22

19M8574

Screw

M10 X 85

4шт.

23

14M7274

Nut

M10

1шт.

24

TH104732

Fitting Plug

SUB FOR 0230126

2шт.

25

0215221

Pipe Plug

SUB FOR TH101486

2шт.

Выбрано товаров: 0