Запчасти John Deere 50LC 1 - Track Frame 0130 Track Systems

Схема запчастей John Deere 50LC - 1 - Track Frame 0130 Track Systems
FIT
1:1
100%

Артикул

Название

Примечание

Количество

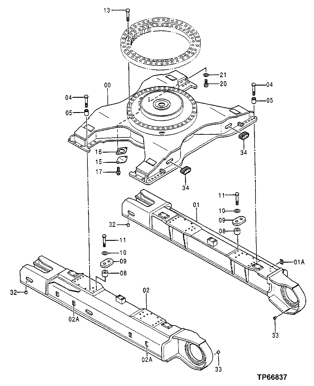
0

5004437

Frame

(SUB FOR TH5004437) (CONVENIENCE ASSY)

1шт.

1

5005345

Frame

(SUB FOR TH5005345) (CONVENIENCE ASSY)

1шт.

1A

4219513

Weld Nut

(SUB FOR TH4219513)

4шт.

2

5005344

Frame

(SUB FOR TH5005344) (CONVENIENCE ASSY)

1шт.

2A

4219513

Weld Nut

(SUB FOR TH4219513)

4шт.

4

J833310

Bolt

(SUB FOR AT201552)

36шт.

5

4320218

Spacer

33.500 X 60 X 56 mm (1.319" X 2. 362" X 2.205") (SUB FOR AT201770)

36шт.

8

4317157

Spacer

(SUB FOR TH4317157)

8шт.

9

4269566

Strap

(SUB FOR AT201729)

4шт.

10

4083438

Washer

34 X 60 X 9 mm (1.339" X 2.362 " X 0.354") (SUB FOR AT202297)

8шт.

11

J833306

Cap Screw

(SUB FOR THJ833306)

8шт.

13

J833011

Cap Screw

(SUB FOR THJ833011)

36шт.

15

4013896

Cover

(SUB FOR TH100633)

1шт.

16

4244172

Gasket

(SUB FOR AT202301)

1шт.

17

19M7938

Cap Screw

M10 X 20

2шт.

12M7066

Lock Washer

10 mm

2шт.

20

19M7394

Cap Screw

M16 X 25 (SUB FOR AT202272 AND J901625)

1шт.

21

24M7053

Washer

17 X 30 X 3 mm

1шт.

32

Packing

(NLA)

24шт.

33

99M7010

Plug

4шт.

34

4268503

Grommet

(SUB FOR AT201726)

2шт.

Выбрано товаров: 21