Запчасти John Deere 50LC 148 - Mass Excavating Arm 2.9m 3340 Backhoe & Excavator Frames

Схема запчастей John Deere 50LC - 148 - Mass Excavating Arm 2.9m 3340 Backhoe & Excavator Frames
FIT
1:1
100%

Артикул

Название

Примечание

Количество

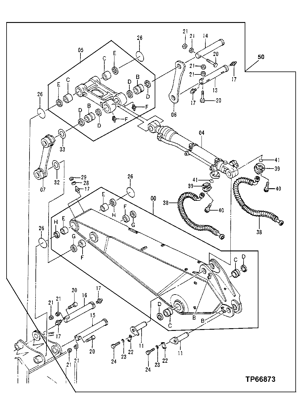
0

9131217

Lift Arm

(SUB FOR TH9131217)

1шт.

0B

4297643

Stop

(SUB FOR TH4297643)

2шт.

0C

3060580

Bushing

(SUB FOR TH3060580)

2шт.

0D

4251767

Seal

(SUB FOR TH4251767)

2шт.

0E

3079230

Bushing

(SUB FOR TH3079230)

2шт.

0F

4295981

Bushing

(SUB FOR TH4295981)

2шт.

0G

4251212

Seal

(SUB FOR AT202303)

2шт.

0H

4251767

Seal

(SUB FOR TH4251767)

2шт.

4

Hydraulic Cylinder

Bucket See Separate Page For Detail

1шт.

5

9111926

Link

(SUB FOR TH9111926)

1шт.

5B

3060583

Bushing

(SUB FOR TH3060583)

2шт.

5C

3060582

Bushing

(SUB FOR TH3060582)

2шт.

5D

4251767

Seal

(SUB FOR TH4251767)

4шт.

5E

4251752

Seal

(SUB FOR AT202304)

2шт.

5F

TH100074

Lubrication Fitting

2шт.

6

8049555

Link

(SUB FOR TH8049555)

1шт.

7

8050377

Link

(SUB FOR TH8050377)

1шт.

11

8053519

Pin Fastener

(SUB FOR TH8053519)

2шт.

13

AT318057

Pin Fastener

(SUB FOR 3060596, TH3060596)

1шт.

14

3097975

Pin Fastener

(SUB FOR TH3060595 AND 3060595)

1шт.

15

3079229

Pin Fastener

(SUB FOR TH3079229)

1шт.

16

AT318054

Pin Fastener

(SUB FOR 3052361, TH3052361)

1шт.

17

TH100074

Lubrication Fitting

6шт.

20

4295167

Cap Screw

(SUB FOR TH4295167)

4шт.

21

14M7277

Nut

M20

8шт.

22

4122729

Strap

(SUB FOR AT131696)

2шт.

23

12M7070

Lock Washer

20 mm

4шт.

24

19M7950

Cap Screw

M20 X 45

4шт.

26

4102191

O-Ring

(SUB FOR AT131687 OR T200731)

4шт.

28

4130686

Bushing

(SUB FOR AT217082)

2шт.

29

4105912

Cap

(SUB FOR AT217081)

2шт.

32

4143607

Washer

115 X 220 X 1.200 mm (4.528" X 8 .661" X 3/64") (SUB FOR TH103208)

1шт.

33

4296540

Shim

(SUB FOR TH4296540)

1шт.

38

4326995

Hydraulic Hose

(SUB FOR AT202215)

2шт.

39

4085560

Flange Fitting

(SUB FOR TH101960)

4шт.

40

19M8395

Screw

M12 X 40

8шт.

41

T78313

O-Ring

32.920 X 3.530 mm (1.296" X 0.139")

2шт.

50

AT188461

Arm

(WHOLEGOODS) Mass Excavating Boom Assembly Includes Arm, Buc ket Cylinder, Hoses and Linkage s

1шт.

Выбрано товаров: 38