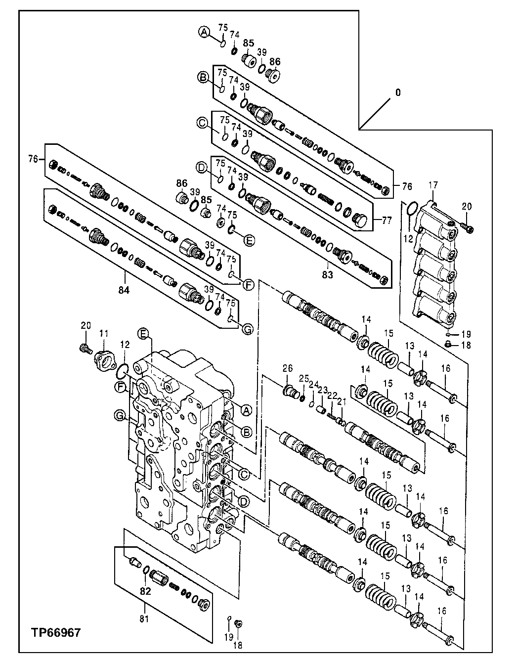
Запчасти John Deere 50LC 181 - Control Valve 3360 Hydraulic System

Схема запчастей John Deere 50LC - 181 - Control Valve 3360 Hydraulic System
FIT
1:1
100%

Артикул

Название

Примечание

Количество

0

4382775

Hyd Actuated Control Valve

(SUB FOR TH4382775 AND 4382775EX) Co ntains All Items On This Page Addition al Components Listed On Following Page s

1шт.

11

0622803

Cover

(SUB FOR AT201987)

5шт.

12

4073426

O-Ring

(SUB FOR AT217049)

10шт.

13

0622805

Sleeve

(SUB FOR AT201989)

5шт.

14

0622806

Guide

(SUB FOR AT201990)

10шт.

15

0622807

Spring

(SUB FOR AT201991)

5шт.

16

0622808

Cap

(SUB FOR AT201992)

5шт.

17

0622809

Cover

(SUB FOR AT201993)

1шт.

18

0622810

Cap

(SUB FOR AT201994)

2шт.

19

M800650

Packing

2шт.

20

19M8169

Screw

M12 X 30 (SUB FOR 19M8127)

20шт.

21

0622811

Check Valve

(SUB FOR AT201995)

1шт.

22

0159223

Spring

(SUB FOR AT217050)

1шт.

23

0622813

Spacer

(SUB FOR AT201997)

1шт.

24

CH10568

Packing

1шт.

25

0166805

Back-Up Ring

(SUB FOR AT217051)

1шт.

26

0622877

Cap (Hat)

(SUB FOR AT172704)

1шт.

39

4366528

O-Ring

(SUB FOR 4153108) (SUB FOR 0818007, THIS APPLICATION)

7шт.

74

4027959

Back-Up Ring

(SUB FOR TH100771)

7шт.

75

4355080

O-Ring

(SUB FOR AT202086) (SUB FOR 4153 099, OR 0818011THIS APPLICATION)

7шт.

76

4392197

Pressure Relief Valve

(SUB FOR AT217151) Arm

2шт.

77

0622843

Flow Control Hyd. Valve

(SUB FOR AT202027) Makeup

1шт.

81

4391505

Pressure Relief Valve

(SUB FOR AT217147) (FLOW SENSING VALVE)

1шт.

82

985099

O-Ring

20.800 X 2.400 mm (0.819" X 3/32") (SUB FOR TH101479)

1шт.

83

4392199

Pressure Relief Valve

(SUB FOR AT217153) Auxiliary

1шт.

84

4392200

Pressure Relief Valve

(SUB FOR AT217154) Auxiliary

1шт.

85

0646203

Plug

(SUB FOR TH0646203)

2шт.

86

0624702

Cap

(SUB FOR TH0624702)

2шт.

Выбрано товаров: 28