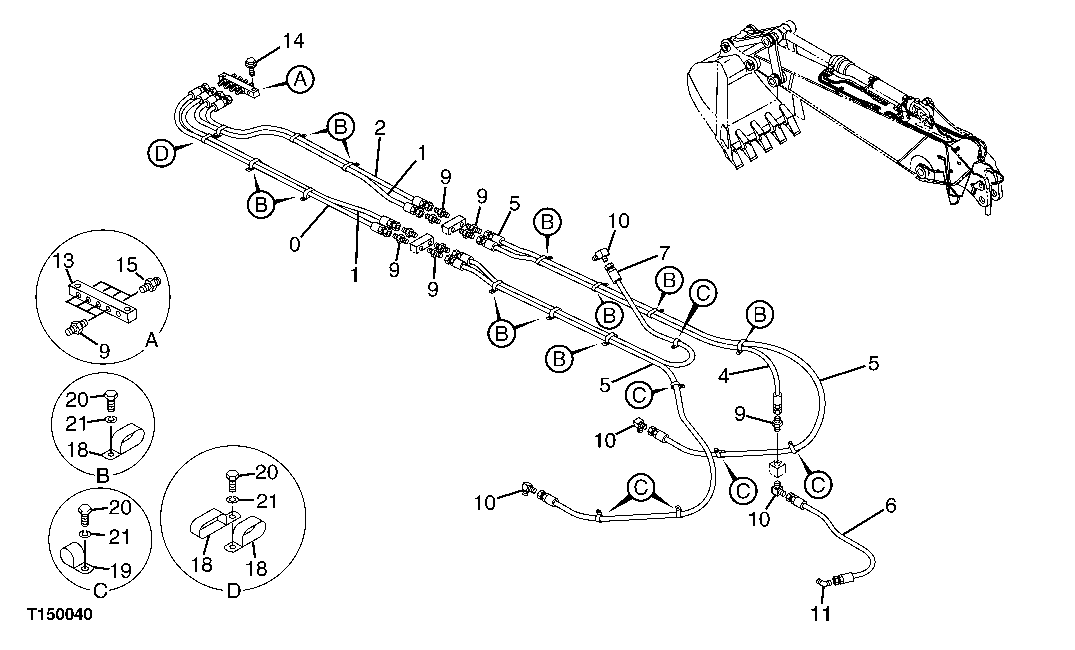
Запчасти John Deere 50LC 189 - LUBRICATE PIPING (STANDARD ARM/HEAVY DUTY ARM)B (SERIAL NO. XXXXXX- ) 3360 Hydraulic System

Схема запчастей John Deere 50LC - 189 - LUBRICATE PIPING (STANDARD ARM/HEAVY DUTY ARM)B (SERIAL NO. XXXXXX- ) 3360 Hydraulic System
FIT
1:1
100%

Артикул

Название

Примечание

Количество

0

4249331

Hose

(SUB FOR AT195888)

1шт.

1

4449602

Hose

(SUB FOR AT195889)

2шт.

2

4449601

Hose

(SUB FOR AT195890)

1шт.

4

4262279

Hose

Standard Arm

1шт.

4258880

Hydraulic Hose

Heavy Duty Arm

1шт.

5

AT160892

Hydraulic Hose

Standard Arm

2шт.

AT217963

Hydraulic Hose

Heavy Duty Arm

2шт.

6

4304400-S

Hydraulic Hose

(SUB FOR AT195892, 4269797, 4289797)

1шт.

7

4260314

Hydraulic Hose

(SUB FOR AT132503)

1шт.

9

4154651

Adapter Fitting

(SUB FOR TH100963)

13шт.

10

4154656

Elbow Fitting

(SUB FOR TH101588)

4шт.

11

4154655

Elbow Fitting

(SUB FOR TH101056)

1шт.

13

4274903

Junction Block

(SUB FOR AT202119)

1шт.

14

19M7358

Cap Screw

M10 X 40

2шт.

12M7066

Lock Washer

10 mm

2шт.

15

JD7769

Lubrication Fitting

4шт.

18

4192018

Clip

(SUB FOR TH110498)

13шт.

19

4190261

Clip

(SUB FOR TH109649)

6шт.

20

19M8324

Cap Screw

M10 X 16

18шт.

21

12M7066

Lock Washer

10 mm

18шт.

Выбрано товаров: 20