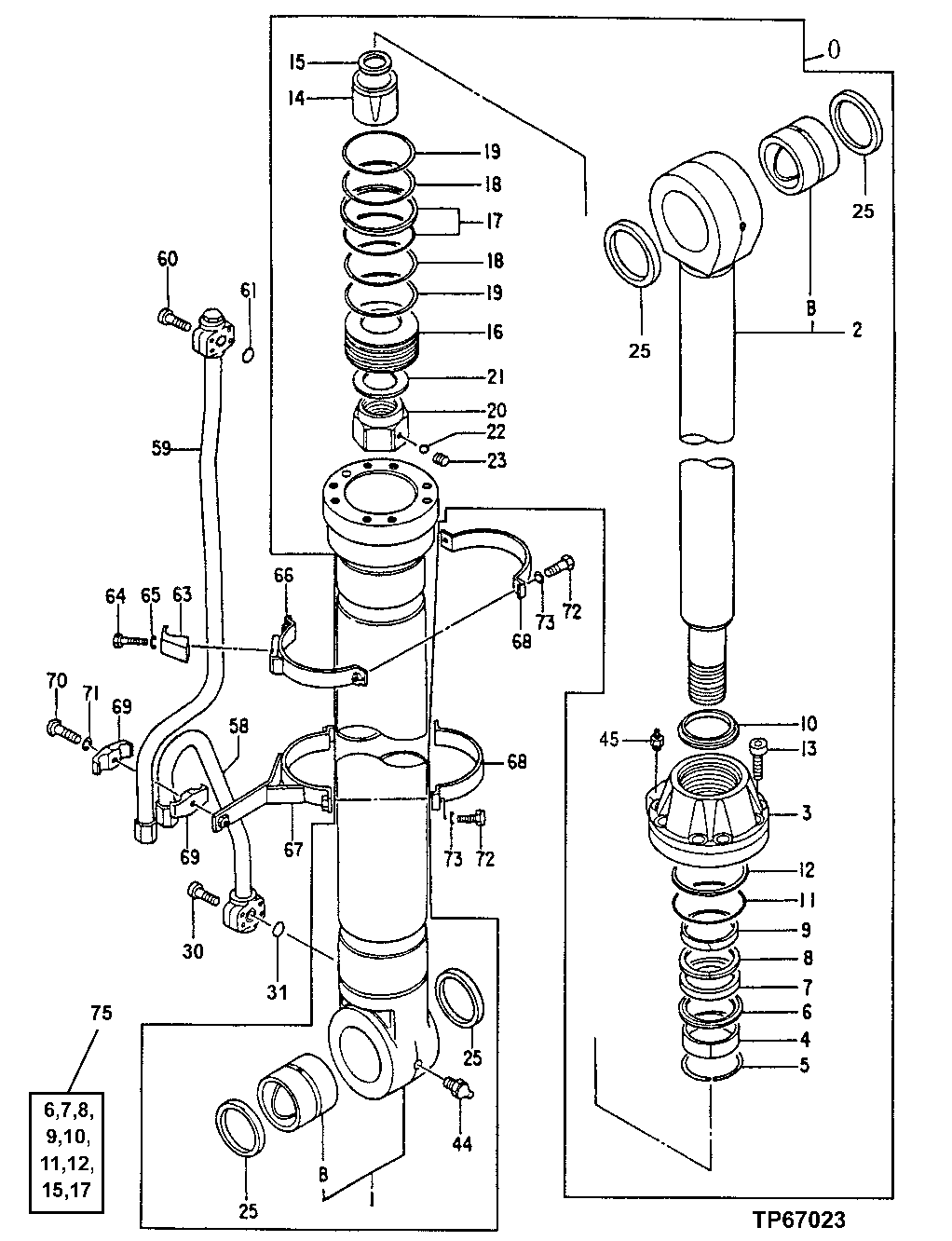
Запчасти John Deere 50LC 197 - Right Boom Cylinder 3360 Hydraulic System

Схема запчастей John Deere 50LC - 197 - Right Boom Cylinder 3360 Hydraulic System
FIT
1:1
100%

Артикул

Название

Примечание

Количество

0

4354802JEX

Hydraulic Cylinder Reman

REMAN, SUB FOR TH4354802

1шт.

1

0643001

Hydraulic Cylinder Barrel

SUB FOR TH0643001

1шт.

1B

4609094

Bushing

SUB FOR TH0643002 OR 0643002

1шт.

2

0643003

Rod

SUB FOR TH0643003

1шт.

2B

4609093

Bushing

SUB FOR TH0643004 OR 0643004

1шт.

3

0643005

Hydr. Cylinder Rod Guide

SUB FOR TH0643005

1шт.

4

0643006

Bushing

SUB FOR TH0643006

1шт.

5

0133709

Snap Ring

SUB FOR TH104999

1шт.

6

0967803

Back-Up Ring

SUB FOR 4S01026 OR TH0643007

1шт.

7

0643023

Packing

SUB FOR TH0643008

1шт.

8

0643009

Wear Ring

SUB FOR TH0643009

1шт.

9

0643010

Ring

SUB FOR TH0643010 OR 4S01021

1шт.

10

4438197

Ring

SUB FOR 0643011

1шт.

11

A811170

O-Ring

SUB FOR THA811170

1шт.

12

TH0332704

Back-Up Ring

1шт.

13

0259304

Cap Screw

SUB FOR TH0417606

8шт.

14

0643012

Bearing

SUB FOR TH0643012

1шт.

15

0643013

Seal

SUB FOR TH0643013

1шт.

16

0643014

Piston

SUB FOR TH0643014

1шт.

17

0332706

Seal

SUB FOR TH0332706 OR 4S01022

1шт.

18

0643015

Ring

SUB FOR TH0643015

2шт.

19

0332708

Ring

SUB FOR TH0332708

2шт.

20

0353009

Nut

SUB FOR AT132318

1шт.

21

0353010

Shim

SUB FOR AT132319

1шт.

22

0353011

Ball

SUB FOR AT132320

1шт.

23

0353012

Set Screw

SUB FOR AT132321

1шт.

25

4205000

Seal

SUB FOR TH4205000, 4S00225 OR 4S00817

4шт.

30

M800636

Screw

M12 X 55

4шт.

19M8448

Screw

M12 X 35 USE WITH 0931906

4шт.

31

AT264348

O-Ring

SUB FOR TH102788

1шт.

44

TH100074

Lubrication Fitting

1шт.

45

0643016

Bleed Valve

SUB FOR TH0643016

1шт.

58

Oil Line

0643017 NLA, SUB FOR TH0643017

1шт.

0931906

Oil Line

ALSO ORDER 19M8448

1шт.

59

0643022

Oil Line

SUB FOR TH0643018 OR 0643018

1шт.

60

19M6619

Screw

M14 X 70 SUB FOR TH0643019

4шт.

61

AT264254

O-Ring

SUB FOR AT132423 OR 955612

1шт.

63

0309219J

Half Clamp

SUB FOR 0309219 OR T108064

1шт.

64

19M7363

Cap Screw

M12 X 60 SUB FOR 19M7273

1шт.

65

12M7058

Lock Washer

12 mm SUB FOR 12M7067

1шт.

66

0643020

Clamp

SUB FOR TH0643020

1шт.

67

0643021

Clamp

SUB FOR TH0643021

1шт.

68

0417613

Half Clamp

SUB FOR TH0417613

2шт.

69

0236915J

Holder

SUB FOR TH102783 OR 0236915

2шт.

70

19M7291

Cap Screw

M14 X 90

1шт.

71

12H317

Lock Washer

9/16"

1шт.

72

19M7550

Cap Screw

M10 X 35 SUB FOR AT153924

4шт.

73

12M7066

Lock Washer

10 mm

4шт.

75

4660103

Seal Kit

SUB FOR 4348853 AND 4402383

1шт.

Выбрано товаров: 49