Запчасти John Deere 50LC 22 - Reserve Water Tank 0510 Engine Cooling Systems

Схема запчастей John Deere 50LC - 22 - Reserve Water Tank 0510 Engine Cooling Systems
FIT
1:1
100%

Артикул

Название

Примечание

Количество

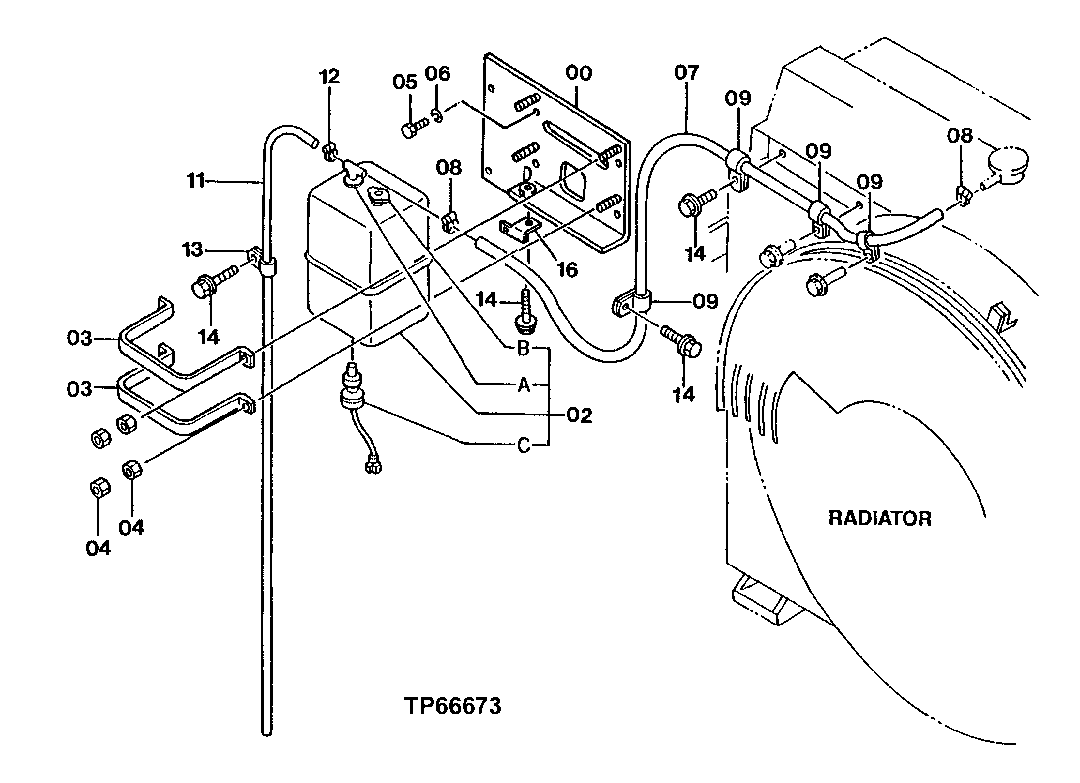
0

8060946

Bracket

(SUB FOR TH8060946)

1шт.

2

4414411

Tank

(SUB FOR TH4184198)

1шт.

2A

4414475

Cap

(SUB FOR TH4234534)

1шт.

2B

4414476

Cap

(SUB FOR TH4234535)

1шт.

2C

4234536

Switch

(SUB FOR AT131966)

1шт.

3

4222379

Half Clamp

(SUB FOR TH4222379)

2шт.

4

14M7274

Nut

M10

8шт.

5

19M7402

Cap Screw

M10 X 25

4шт.

6

12M7066

Lock Washer

10 mm

4шт.

7

Radiator Hose

CUT TO 1160mm FROM BULK , Furnis h ( TY25195) (SUB FOR TH4294375)

1шт.

8

TY22464

Clamp

(SUB FOR AR21836)

2шт.

9

AH79175

Clip

(SUB FOR TH108600 OR 4190272)

4шт.

11

Bulk Hose

BULK MATERIAL CTL 1500mm , (SUB FOR TH4194931, 4194931) ( 43539 56 NLA) ( PMK010-0406) Furnish

1шт.

12

TY22462

Clamp

(SUB FOR AR48236)

1шт.

13

T30367

Clamp

1шт.

14

19M7402

Cap Screw

M10 X 25

4шт.

12M7066

Lock Washer

10 mm

4шт.

16

4257159

Bracket

(SUB FOR AT154243)

1шт.

Выбрано товаров: 18