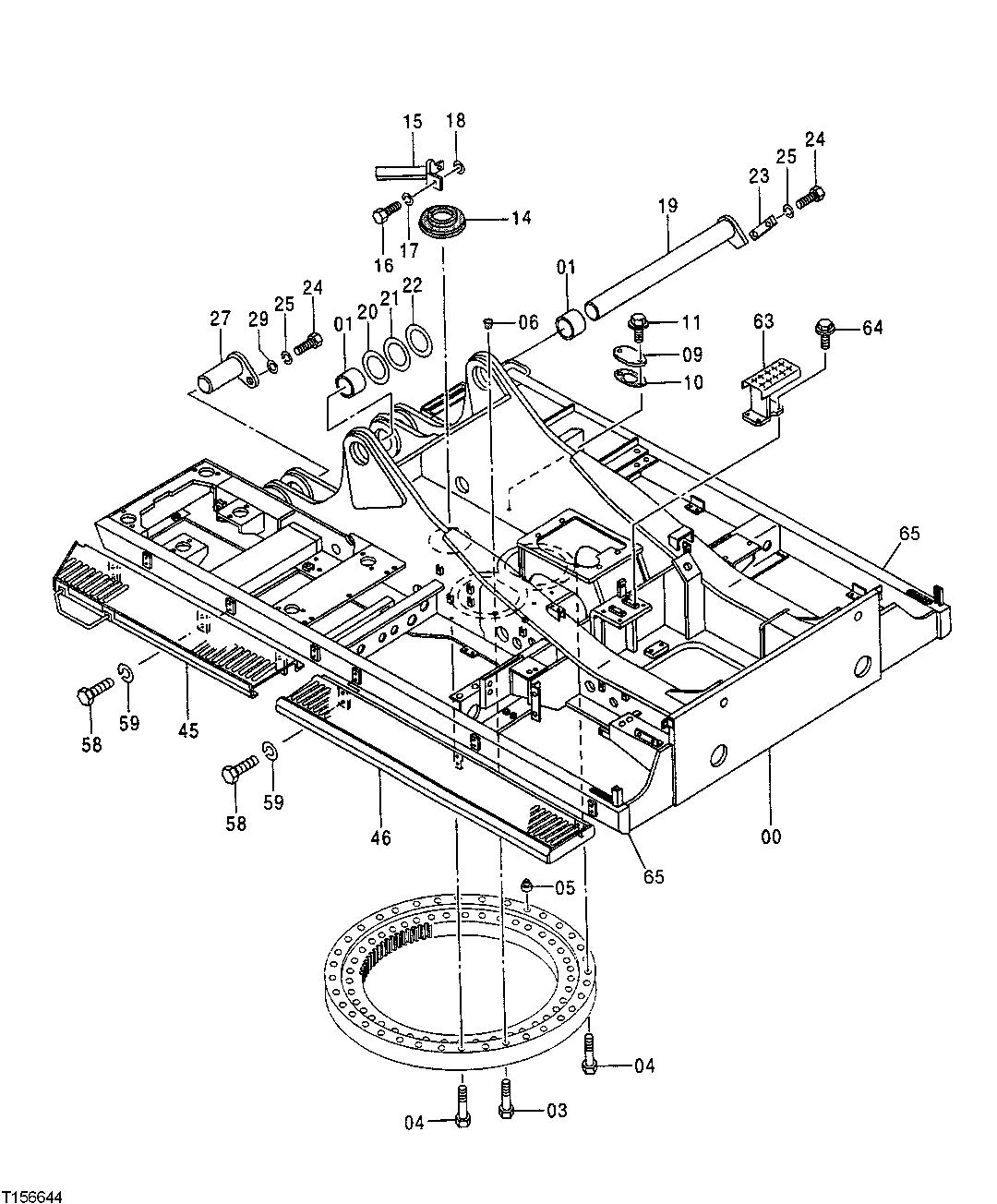
Запчасти John Deere 50LC 50 - Main Frame 1740 Frame Installation

Схема запчастей John Deere 50LC - 50 - Main Frame 1740 Frame Installation
FIT
1:1
100%

Артикул

Название

Примечание

Количество

0

5005575

Main Frame

(SUB FOR TH5005575) (CONVENIENCE ASSEMBLY)

1шт.

1

4296258

Bushing

(SUB FOR TH4296258)

2шт.

3

J833012

Cap Screw

(SUB FOR THJ833012)

32шт.

4

J833016

Cap Screw

(SUB FOR THJ833016)

4шт.

5

4292932

Plug

(SUB FOR TH4292932)

2шт.

6

429135

Plug

(SUB FOR TH429135)

8шт.

9

4292764

Cover

(SUB FOR TH4292764)

1шт.

10

4292765

Packing

(SUB FOR TH4292765)

1шт.

11

19M8324

Cap Screw

M10 X 16

2шт.

12M7066

Lock Washer

10 mm

2шт.

14

4205476

Cover

(SUB FOR AT131790)

1шт.

15

8056744

Stop

(SUB FOR AT202369)

1шт.

16

19M6332

Cap Screw

M14 X 35

2шт.

17

12H317

Lock Washer

9/16"

2шт.

18

4114404

Washer

15 X 36 X 4.500 mm (0.591" X 1.4 17" X 0.177") (SUB FOR AT130666)

2шт.

19

8053517

Pin Fastener

(SUB FOR TH8053517)

1шт.

20

4296543

Shim

3.2 , (SUB FOR TH4296543)

1шт.

21

4296542

Shim

2.3 , (SUB FOR TH4296542)

1шт.

22

4296541

Shim

1.0 , (SUB FOR TH4296541)

2шт.

23

4179432

Strap

(SUB FOR TH4179432)

1шт.

24

19M7950

Cap Screw

M20 X 45

4шт.

25

12M7070

Lock Washer

20 mm

4шт.

27

8053518

Pin Fastener

(SUB FOR TH8053518)

2шт.

29

4040826

Bushing

21.200 X 60 X 10 mm (0.835" X 2. 362" X 0.394") (SUB FOR AT131671)

2шт.

45

6021929

Step

(SUB FOR TH6014819, 6014819)

1шт.

46

6021931

Step

(SUB FOR TH6014673, 6017693)

1шт.

58

19M7872

Cap Screw

M12 X 25

12шт.

59

12H301

Lock Washer

1/2"

12шт.

63

7030793

Step

(SUB FOR TH7030793)

1шт.

64

19M7662

Cap Screw

M10 X 30

4шт.

12M7066

Lock Washer

10 mm

4шт.

65

4455818

Frame

1шт.

Выбрано товаров: 32