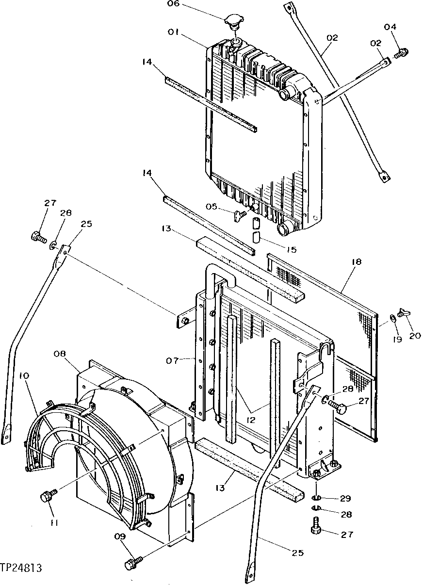
Запчасти John Deere 90D 76 - RADIATOR, OIL COOLER, FAN SHROUD AND FAN GUARD 0510 Engine Cooling Systems

Схема запчастей John Deere 90D - 76 - RADIATOR, OIL COOLER, FAN SHROUD AND FAN GUARD 0510 Engine Cooling Systems
FIT
1:1
100%

Артикул

Название

Примечание

Количество

1

4239567

Radiator

(SUB FOR AT126843)

1шт.

2

4206676

Rod

(SUB FOR TH108222)

2шт.

4

Screw With Washer

(SUB FOR TH108223)( 4206679 NLA)

4шт.

19M7560

Cap Screw

M6 X 16

4шт.

24M7054

Washer

6.400 X 12 X 1.600 mm

4шт.

12M7006

Lock Washer

6 mm

4шт.

5

4148705

Drain Plug

(SUB FOR TH100907 ) (SUB FOR TH109425)

1шт.

6

AT169085

Filler Cap

(SUB FOR TH111864)

1шт.

7

4239568

Oil Cooler

(SUB FOR AT126844)

1шт.

8

4243420

Guide

(SUB FOR AT126878)

1шт.

9

4218646

Bolt

(SUB FOR AT126876)

8шт.

10

4243147

Guard

(SUB FOR AT126873)

1шт.

11

19M7932

Cap Screw

M8 X 16 (SUB FOR TH108229, 4 206128, AT202245 OR 4331649)

7шт.

12M7065

Lock Washer

8 mm

7шт.

12

4206672

Pad

(SUB FOR TH108230)

2шт.

13

4200220

Pad

(SUB FOR TH108231)

2шт.

14

4200221

Pad

(SUB FOR TH108232)

2шт.

15

Hose

( TH106433 NO LONGER AVAILABLE) (MAKE F ROM 1/2 INCH VINYL TUBING CUT TO LENGTH)

1шт.

18

4196945

Screen

(SUB FOR TH108235)

1шт.

19

24M7054

Washer

6.400 X 12 X 1.600 mm

4шт.

20

21M1689

Wing Screw

M6 X 12

4шт.

25

4204723

Stop

(SUB FOR TH108238)

2шт.

27

19M8035

Cap Screw

M16 X 35

8шт.

28

12H294

Lock Washer

5/8"

8шт.

29

4114405

Washer

(SUB FOR TH101105)

4шт.

Выбрано товаров: 25