Запчасти John Deere 90D 81 - Fuel Tank 0560 External Fuel Supply Systems

Схема запчастей John Deere 90D - 81 - Fuel Tank 0560 External Fuel Supply Systems
FIT
1:1
100%

Артикул

Название

Примечание

Количество

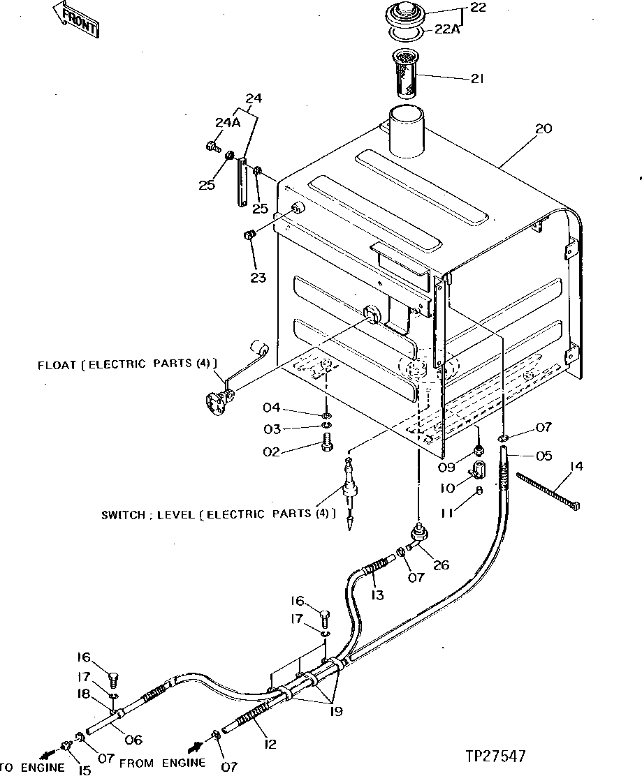
2

19M7488

Cap Screw

M16 X 40

4шт.

3

12H294

Lock Washer

5/8"

4шт.

4

4114405

Washer

SUB FOR TH101105

4шт.

5

M87571

Hose

SUB FOR AT126812

1шт.

6

M87571

Hose

SUB FOR AT126813

1шт.

7

TY22464

Clamp

SUB FOR AT145649 OR AR21836

4шт.

9

T116057

Fitting

SUB FOR TH101997

1шт.

10

4374265

Drain Valve

SUB FOR TH111035 OR AT177419

1шт.

11

M800462

Plug

SUB FOR TH101049

1шт.

12

Tube

TH111405 OR AT132010 NO LONGER AVAILABLE , CUT TO LENGTH FROM T83427 BULK MATERIAL

1шт.

13

T83427

Conduit

1шт.

14

H77698

Tie Band

2шт.

15

R67293

Fitting

SUB FOR TH100897

1шт.

16

19M8451

Cap Screw

M10 X 14

4шт.

17

12M7066

Lock Washer

10 mm

4шт.

18

R72659

Clamp

SUB FOR TH108594 OR 4235654

1шт.

19

R50454

Clamp

SUB FOR TH109445 OR 4192034

3шт.

20

6007799J

Fuel Tank

SUB FOR TH108248 OR 6007799

1шт.

21

4121496

Fuel Filter

SUB FOR TH100509

1шт.

22

4361638

Cap

SUB FOR TH108249 OR AT175989, KE Y LOCKABLE, ORDER KEY SEPARATELY

1шт.

AT194969

Key

SUB FOR AT147803, H800, NOT ILLUSTRATED

1шт.

AT323462

Filler Cap

SUB FOR TH108249 OR AT175989, CAN BE LO CKED WITH PADLOCK, PADLOCK NOT INCLUDED

1шт.

22A

4168820

Packing

SUB FOR TH103384, USE WITH TH108249 FUEL CAP

1шт.

23

94-2024

Fitting Plug

SUB FOR TH101292

1шт.

24

8033923

Level Gauge

SUB FOR TH108250

1шт.

24A

4100967

Bolt

SUB FOR TH101894

2шт.

25

449558

Washer

SUB FOR TH100675

4шт.

26

9726772

Fitting

SUB FOR TH108251

1шт.

Выбрано товаров: 28