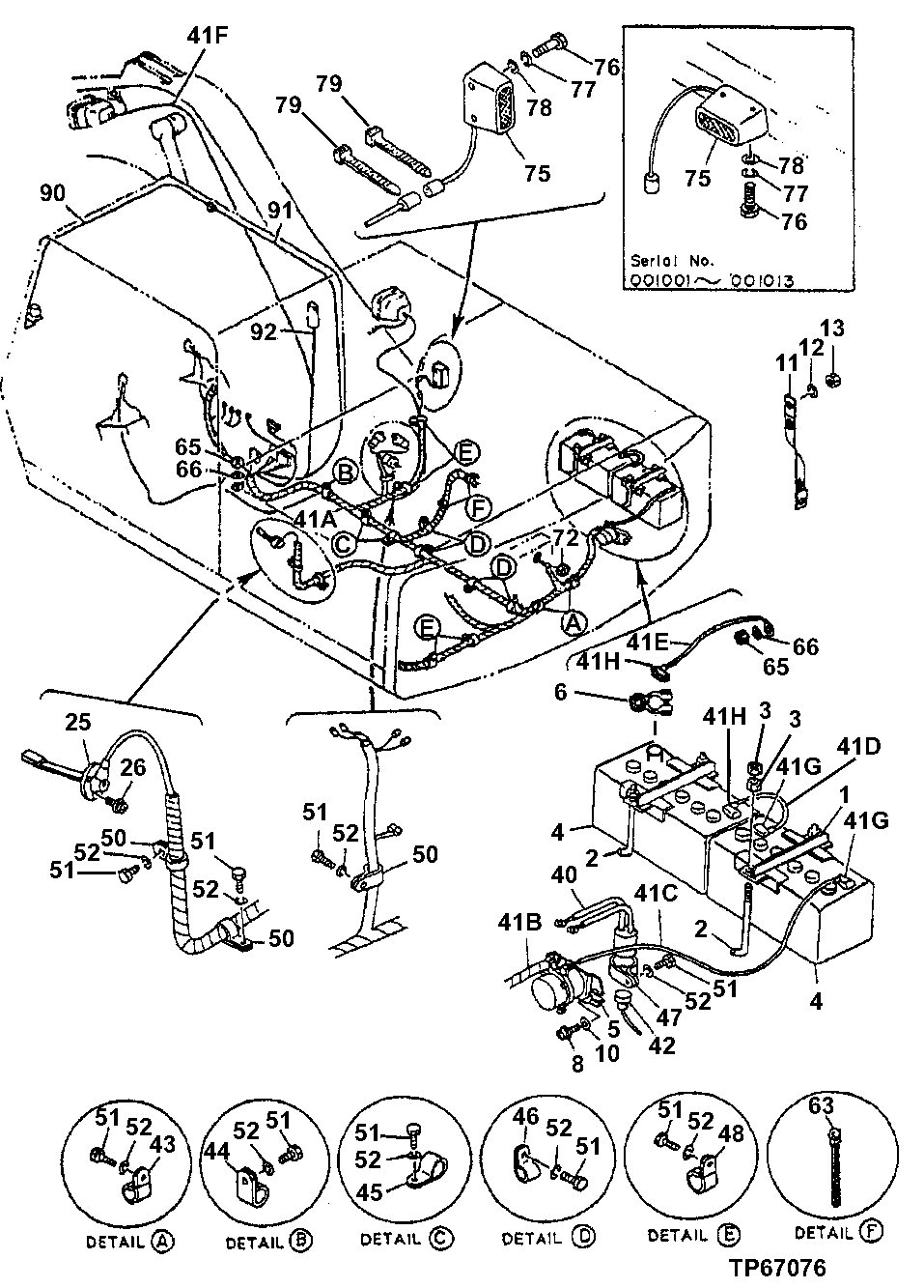
Запчасти John Deere 90D 100 - Electrical Components 1674 Wiring Harness And Switches

Схема запчастей John Deere 90D - 100 - Electrical Components 1674 Wiring Harness And Switches
FIT
1:1
100%

Артикул

Название

Примечание

Количество

1

9727995

Holder

(SUB FOR TH108577)

2шт.

2

4177557

Bolt

(SUB FOR TH108578)

4шт.

3

14M7274

Nut

M10

8шт.

4

TY6106

Dry Charged Battery

(USE IF AVAILABLE)

2шт.

TY21741

Dry Charged Battery

(SUB FOR TY6106)

2шт.

5

4031771

Relay

(SUB FOR TH104069)

1шт.

6

AT219485

Clamp

(BATTERY TERMINAL)

4шт.

8

19M7407

Cap Screw

M8 X 25

2шт.

10

24M7055

Washer

8.400 X 16 X 1.600 mm

2шт.

11

AT47069

Ground Cable

(SUB FOR AT154993)STRAP (ENGI NE FLYWHEEL HOUSING TO GROUND)

1шт.

12

12M7066

Lock Washer

10 mm

1шт.

13

14M7274

Nut

M10

1шт.

25

4151888

Switch

(SUB FOR TH102170)HYDRAULIC OIL LEVEL

1шт.

26

21M7265

Screw

M5 X 12

3шт.

40

4191038

Electrical Connector Assy

(SUB FOR TH107964)(FUSIBLE LINK)

1шт.

41

4238843

Wiring Harness

(NOT ILLUSTRATED) (SUB FOR AT12684 1 (INCLUDES KEYS 41A THROUGH 41J))

1шт.

41A

4245406

Wiring Harness

(SUB FOR AT126884)

1шт.

41B

4245407

Cable

(SUB FOR AT126885)

1шт.

41C

4245408

Cable

(SUB FOR AT126886)

1шт.

41D

AU42895

Battery Cable

(SUB FOR AT126882 ) (ALSO ORDER T107114, T107115 AND (2) R44302)

1шт.

R44302

Tie Band

2шт.

41E

AR69238

Battery Cable

(SUB FOR AT126883 ) (ALSO O RDER T107115 AND (2) R44302)

1шт.

R44302

Tie Band

1шт.

41F

4245321

Wiring Harness

(SUB FOR AT126881)

1шт.

41G

T107114

Cover

(USE WITH REPLACEMENT BATTERY OR CABLE)

2шт.

4256240

Cap

(SUB FOR TH112250)(USE WITH ORIGINAL BATTERY AND CABLE)

2шт.

41H

T107115

Cover

(USE WITH REPLACEMENT BATTERY OR CABLE)

2шт.

4256241

Cap

(SUB FOR TH112251)(USE WITH ORIGINAL BATTERY AND CABLE)

2шт.

41J

4192489

Diode

(SUB FOR TH110500)

5шт.

42

4240648

Wiring Lead

(SUB FOR AT130831)

1шт.

43

T32854

Clamp

(SUB FOR AT121964)

2шт.

44

R72659

Clamp

(SUB FOR TH108594 OR 4235654)

1шт.

45

T24432

Clamp

(SUB FOR TH108595)

1шт.

46

4190262

Clip

(SUB FOR TH108596)

4шт.

47

R73384

Clamp

(SUB FOR TH108597 OR 4190253)

1шт.

48

4190275

Clamp

(SUB FOR TH108598)

4шт.

50

T38377

Clamp

3шт.

51

19M8451

Cap Screw

M10 X 14

17шт.

52

12M7066

Lock Washer

10 mm

17шт.

63

H77698

Tie Band

10шт.

65

14M7274

Nut

M10

2шт.

66

24M7028

Washer

10.500 X 20 X 2 mm

2шт.

72

14H826

Nut

1/2"

1шт.

75

AT120884

Travel Warning Alarm

1шт.

76

19M8539

Cap Screw

M8 X 90

2шт.

77

12M7056

Lock Washer

8 mm (SUB FOR 12M7065)

2шт.

78

24M7055

Washer

8.400 X 16 X 1.600 mm

2шт.

79

H77698

Tie Band

2шт.

90

4229055

Wiring Harness

(SUB FOR TH111933)(WIPER)

1шт.

91

4229056

Wiring Harness

(SUB FOR TH111934)(WIPER RELAY)

1шт.

92

4229057

Wiring Harness

(SUB FOR TH111935)(DOME LIGHT)

1шт.

Выбрано товаров: 51