Запчасти John Deere 90D 142 - Main Pump Valve Cover 2160 Vehicle Hydraulics

Схема запчастей John Deere 90D - 142 - Main Pump Valve Cover 2160 Vehicle Hydraulics
FIT
1:1
100%

Артикул

Название

Примечание

Количество

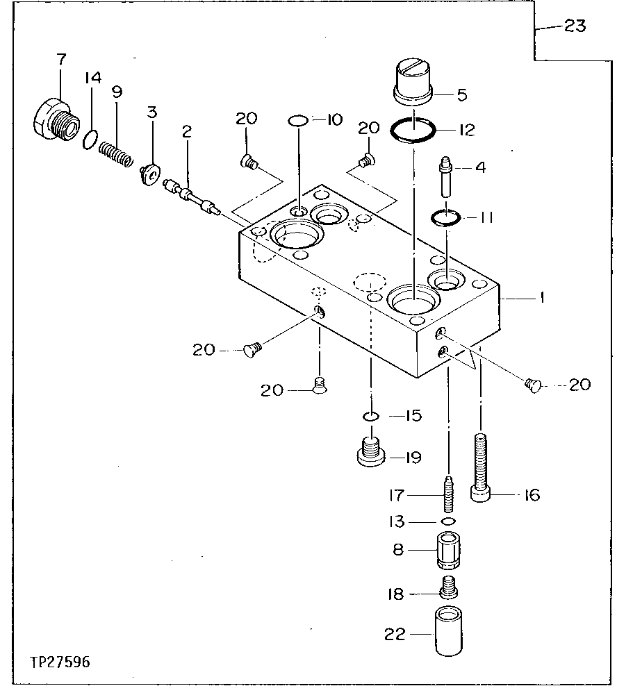
1

Cover

SUB AT128097

1шт.

2

Spool

SUB AT128097

1шт.

3

0215103

Retainer

SUB FOR TH101457

1шт.

4

0311901

Spool

SUB FOR TH109024

2шт.

5

0370901

Piston

SUB FOR AT128075

2шт.

7

0311903

Fitting Plug

SUB FOR TH109026

1шт.

8

0215109

Nut

SUB FOR TH101463

2шт.

9

0311904

Spring

SUB FOR TH109027

1шт.

10

A3917R

O-Ring

SUB FOR TH101480

1шт.

11

N130510

O-Ring

SUB FOR TH109028

2шт.

12

H35256

Ring

SUB FOR AT127360

2шт.

13

CH19111

O-Ring

2шт.

14

4506418

O-Ring

SUB FOR U46489

1шт.

15

M800650

Packing

1шт.

16

19M8412

Screw

M10 X 55 SUB FOR AT127361

8шт.

17

0234801

Set Screw

SUB FOR TH101462

2шт.

18

0215015

Fitting Plug

SUB FOR TH101443

2шт.

19

0215221

Pipe Plug

SUB FOR TH101486

1шт.

20

Plug

SUB AT128097

ARшт.

22

0324404

Cap

SUB FOR AT127294

2шт.

23

4244863

Valve Cover

SUB FOR AT128097

1шт.

Выбрано товаров: 21