Запчасти John Deere 90D 7 - Track Chain (Semi-Grouser Shoes, 500 mm. and 700 mm.) 0130 Track Systems

Схема запчастей John Deere 90D - 7 - Track Chain (Semi-Grouser Shoes, 500 mm. and 700 mm.) 0130 Track Systems
FIT
1:1
100%

Артикул

Название

Примечание

Количество

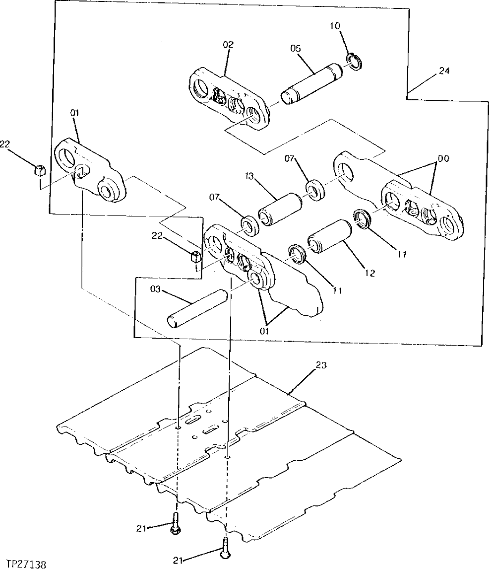
0

1014684

Link

(STRUTTED) (SUB FOR AT126062 AND 1014684)

44шт.

1

1014685

Link

(STRUTTED) (SUB FOR AT126063 AND 1014685)

45шт.

2

Track Link

(SUB 1026978, 4257147, 4257460, (2) 4347124 AND 4417007)( 4195755 NO LONGER AVAILABLE)

1шт.

4417007

Master Track Link

(SUB FOR AT159900)

1шт.

3

4164871

Track Pin

(K) (SUB FOR AT126221)

44шт.

5

Pin

( 4195431 NO LONGER AVAILABLE) (SUB (2) 102 6978, 4257147, 4257460, 4347124 AND 4417007)

1шт.

4257147

Master Track Pin

(K) (SUB FOR AT159901)

1шт.

7

Bushing

( 4189174 NO LONGER AVAILABLE) (SUB (2) 102 6978, 4257147, 4257460, 4347124 AND 4417007)

2шт.

4257460

Bushing

(K) (SUB FOR AT159902)

2шт.

10

4195756

Ring

(K) (SUB FOR AT126300)

1шт.

11

Seal

( 4189173 NO LONGER AVAILABLE) (SUB (2) 4254887 AND 4347123)

88шт.

4254887

Seal

(K) (SUB FOR AT159903)

88шт.

12

Bushing

( 4164870 NO LONGER AVAILABLE) (SUB 4254887 AND (2) 4347123)

44шт.

Bushing

(K) (SUB AT174740)( AT15 9904 NO LONGER AVAILABLE)

44шт.

4347123

Bushing

(K) (SUB FOR AT174740)

44шт.

13

Bushing

(SUB 4257147, 4257460, 4347124 AND (2) 4417007)( 4164928 NO LONGER AVAILABLE)

1шт.

Bushing

(K) (SUB AT174741)( AT15 9905 NO LONGER AVAILABLE)

1шт.

4347124

Bushing

(K) (SUB FOR AT174741)

1шт.

21

Bolt

(SUB 4254888 AND AT180443)( TH10039 8 AND AT128416 NO LONGER AVAILABLE)

180шт.

4254888

Bolt

180шт.

22

Nut

( 4174947 AND AT12841 6 NO LONGER AVAILABLE)

180шт.

T212051

Nut

(SUB FOR AT128416 OR AT180443)

180шт.

23

2029046

Open Center 3 Bar Shoe

(SUB FOR AT126080)700MM

45шт.

2030537

Open Center 3 Bar Shoe

(SUB FOR AT126069)500MM

45шт.

24

Track Link

(SUB AT159899)( AT1271 68 NO LONGER AVAILABLE)

1шт.

9096742

Track Chain W/O Shoes

(SUB FOR AT159899 AND 9179452)

1шт.

Kit

( AT170091 NLA) (TRACK PIN AND BUSHING KIT MARKED WITH (K) )

1шт.

Выбрано товаров: 27