Запчасти John Deere 90D 172 - Standard Arm 3340 BACKHOE AND EXCAVATOR FRAMES

Схема запчастей John Deere 90D - 172 - Standard Arm 3340 BACKHOE AND EXCAVATOR FRAMES
FIT
1:1
100%

Артикул

Название

Примечание

Количество

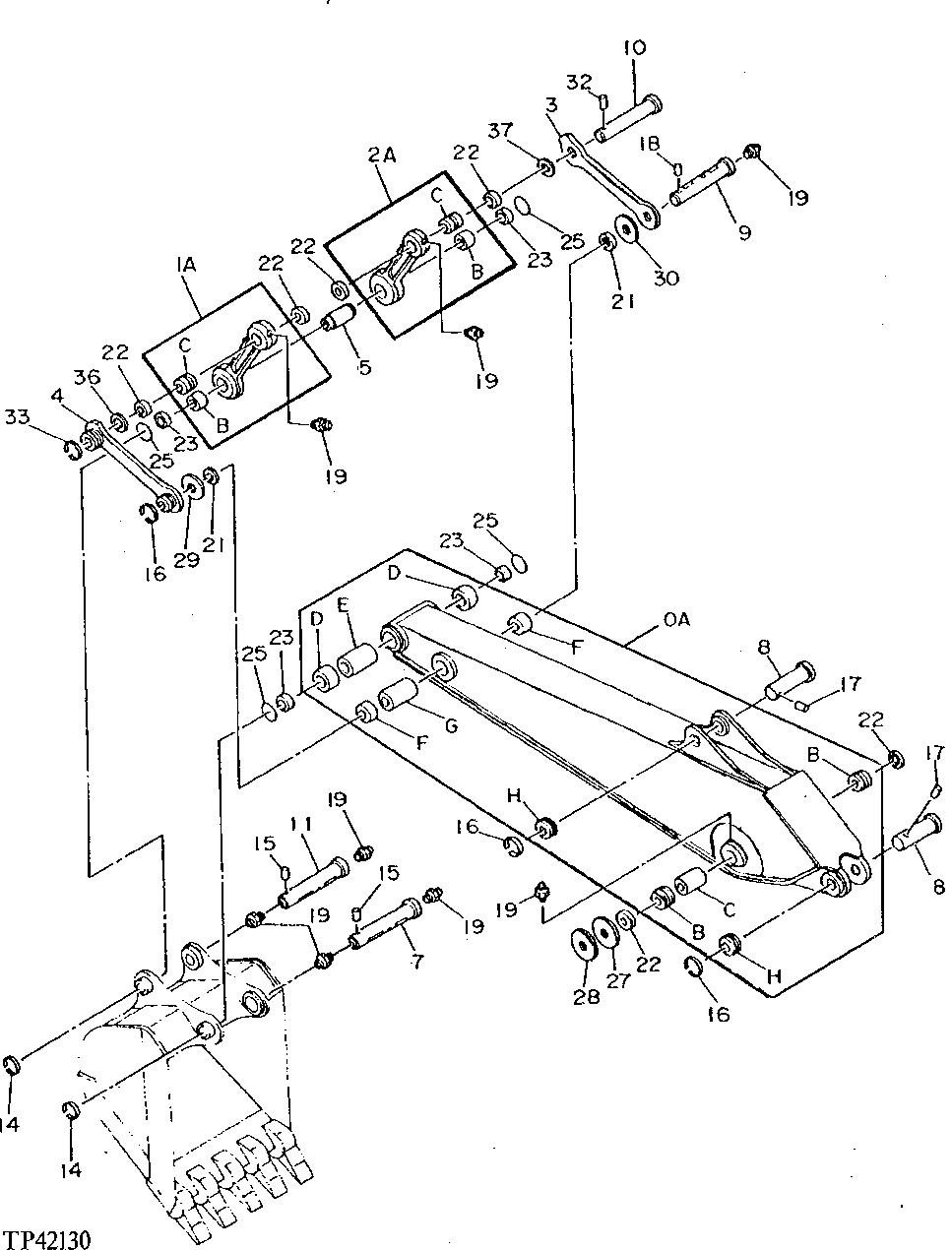
0A

AP81417

Arm

(CONVENIENCE ASSEMBLY) (SUB FOR A T126032 (2.6 M) (8 FEET 6 INCHES))

1шт.

0B

3051399

Bushing

(SUB FOR AT126135 ) (SUB FOR AT154116)

2шт.

0C

4163454

Spacer

(SUB FOR TH104460)

1шт.

0D

T139507

Bushing

(SUB FOR TH104288)

2шт.

0E

4123815

Spacer

(SUB FOR TH104461)

1шт.

0F

AT122209

Bushing

(SUB FOR AT126323 OR TH108931)

2шт.

0G

4163453

Spacer

(SUB FOR TH104462)

1шт.

0H

TH108649

Bushing

2шт.

1A

9726946

Link

(SUB FOR 4154425)

1шт.

1B

T139496

Bushing

(SUB FOR T104344)

1шт.

1C

AT126136

Bushing

1шт.

2A

9726994

Link

(SUB FOR AT127210)

1шт.

2B

T139496

Bushing

(SUB FOR AT126188 OR T104344)

1шт.

2C

AT126136

Bushing

1шт.

3

3037284

Link

(SUB FOR AT126133)

1шт.

4

8037465

Link

(SUB FOR AT127026)

1шт.

5

T104348

Spacer

(SUB FOR 4154425)

1шт.

7

T144756

Pin

(SUB FOR T114883)

1шт.

8

AT126131

Pin

2шт.

9

AT126130

Pin

1шт.

10

AT126129

Pin

1шт.

11

T144757

Pin

(SUB FOR T114884)

1шт.

14

4098712

Ring

(SUB FOR TH103629)

2шт.

15

4098713

Pin

(SUB FOR TH103627)

2шт.

16

4065688

Retainer

(SUB FOR TH100624)

3шт.

17

4065689

Pin Fastener

(SUB FOR TH100625)

2шт.

18

4186695

Pin

(SUB FOR TH105638)

1шт.

19

TH100074

Lubrication Fitting

11шт.

21

TH100374

Seal

2шт.

22

TH104472

Seal

6шт.

23

TH102446

Seal

(I.D. 80 MM - O.D. 95 MM)

4шт.

25

4089028

O-Ring

(STANDARD O-RING)

4шт.

AT349466

Seal

(SPLIT O-RING)

4шт.

27

4163456

Washer

(SUB FOR TH104473)

1шт.

28

4163457

Washer

(SUB FOR TH104474)

1шт.

29

4075359

Washer

(SUB FOR TH101314)

1шт.

30

4075360

Washer

(SUB FOR TH101315)

1шт.

32

4106307

Pin

(SUB FOR TH104411)

1шт.

33

4098716

Ring

(SUB FOR TH103631)

1шт.

36

4366692R

Thrust Washer

(SUB FOR TH105593, 4366692 OR AT214030)

1шт.

37

4367410R

Thrust Washer

(SUB FOR TH105592, 4367410 OR AT214040)

1шт.

40

AT176030

Arm

WHOLEGOODS (INCLUDES STANDARD ARM, BUCK ET CYLINDER AND LINKAGE) (NOT ILLUSTRATE D) (CONTAINS ALL ITEMS ON THIS PAGE - AD DITIONAL COMPONENTS LISTED ON OTHER PAGE S)

1шт.

Выбрано товаров: 42