Запчасти John Deere 90D 185 - PILOT HYDRAULIC HOSES AND LINES 3360 HYDRAULIC SYSTEM

Схема запчастей John Deere 90D - 185 - PILOT HYDRAULIC HOSES AND LINES 3360 HYDRAULIC SYSTEM
FIT
1:1
100%

Артикул

Название

Примечание

Количество

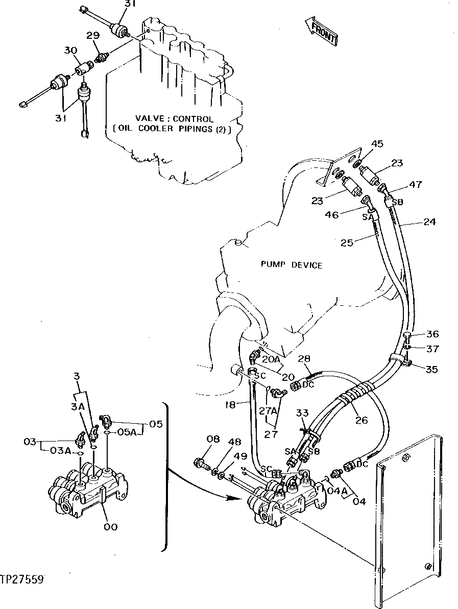
0

4196411

Solenoid Valve

(SUB FOR TH108398)

1шт.

3

4193826

Elbow Fitting

(SUB FOR TH106467)

2шт.

3A

M800650

Packing

1шт.

4

4200465

Adapter Fitting

(SUB FOR TH108328)

1шт.

4A

M800650

Packing

1шт.

5

4154670

Elbow Fitting

(SUB FOR TH100951)

1шт.

5A

M800650

Packing

1шт.

8

19M7662

Cap Screw

M10 X 30

2шт.

18

AR101376

Hydraulic Hose

(SUB FOR AT128093)

1шт.

20

4193826

Elbow Fitting

(SUB FOR TH106467)

1шт.

20A

M800650

Packing

1шт.

23

4187914

Cylinder

(SUB FOR TH108409)(AUTO IDLE MODE ADAPTER AND ECONOMY MODE ADAPTER)

2шт.

24

AE42282

Hydraulic Hose

(SUB FOR AT128089, ALONG WITH AH89069)

1шт.

25

AE42282

Hydraulic Hose

(SUB FOR AT128083, ALONG WITH X4V6X-S)

1шт.

26

Hose Guard

(MAKE FROM XHG-075 BULK MATERIAL, CUT TO LEN GTH) (SUB FOR TH100996, AT138222 OR 3052919)

1шт.

27

4154670

Elbow Fitting

(SUB FOR TH100951)

1шт.

27A

M800650

Packing

1шт.

28

AT126850

Hydraulic Hose

(SUB FOR AT128094)

1шт.

29

4242510

Adapter Fitting

(SUB FOR AT126870)

1шт.

30

4242511

Tee Fitting

(SUB FOR AT126871)

1шт.

31

4259333

Pressure Switch

(SUB FOR TH108413)

3шт.

33

H77698

Tie Band

(SUB FOR TH106422)

1шт.

35

M45242

Clip

(SUB FOR TH108321 ) (SUB FOR 4190292)

1шт.

36

19M7938

Cap Screw

M10 X 20

1шт.

37

12M7066

Lock Washer

10 mm

1шт.

45

4061743

Washer

(SUB FOR TH101572)

2шт.

46

X4V6X-S

Elbow Fitting

(SUB FOR AT128355 OR X3703-4-4)

1шт.

47

AH89069

Elbow Fitting

1шт.

48

12M7066

Lock Washer

10 mm

2шт.

49

24M7028

Washer

10.500 X 20 X 2 mm

2шт.

Выбрано товаров: 30